Оригинальные каталоги
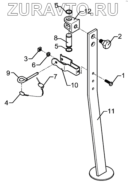
| № | Номер | Наименование | Цена | |
|---|---|---|---|---|
| 1 | 301 3224 | Screw | Нет в продаже |
|
| 2 | 301 6425 | Bolt | Нет в продаже |
|
| 3 | 303 1100 | Nut | Нет в продаже |
|
| 4 | 305 8551 | Securing clip | Нет в продаже |
|
| 5 | 305 8867 | Securing ring | Нет в продаже |
|
| 6 | 305 9884 | Spring ring | Нет в продаже |
|
| 7 | 311 9566 | Securing pin | Нет в продаже |
|
| 8 | 313 7802 | Pin | Нет в продаже |
|
| 9 | 313 8610 | Pin | Нет в продаже |
|
| 10 | 329 1802 | U-spring | Нет в продаже |
|
| 11 | 429 2470 | Stand | Нет в продаже |
|
| 12 | 429 4580 | Holder | Нет в продаже |
|
1
2
3
4
5
5
6
7
8
9
10
11
12
Содержащиеся в справочниках-каталогах запасные части и детали носят исключительно информационный характер