Оригинальные каталоги
| № | Номер | Наименование | Цена | |
|---|---|---|---|---|
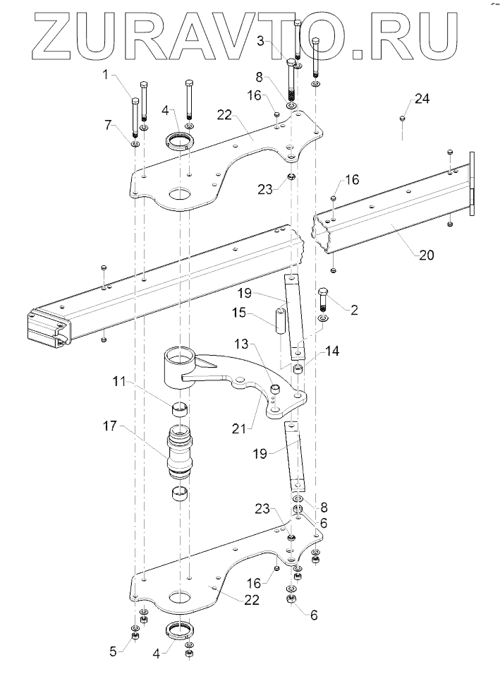
| 1 | 301 4539 | Bolt | Нет в продаже |
|
| 2 | 301 4643 | Hexagon bolt | Нет в продаже |
|
| 3 | 301 4811 | Bolt | Нет в продаже |
|
| 4 | 303 0375 | Grooved nut | Нет в продаже |
|
| 5 | 303 0977 | Nut | Нет в продаже |
|
| 6 | 303 1019 | Nut | Нет в продаже |
|
| 7 | 305 6012 | Washer | Нет в продаже |
|
| 8 | 305 6254 | Washer | Нет в продаже |
|
| 11 | 317 2035 | Expansion bush | Нет в продаже |
|
| 13 | 317 3417 | Expansion bush | Нет в продаже |
|
| 14 | 317 3404 | Expansion bush | Нет в продаже |
|
| 15 | 31710185 | Tube | Нет в продаже |
|
| 16 | 323 8053 | Cap | Нет в продаже |
|
| 17 | 402 1283 | Bearing tube | Нет в продаже |
|
| 19 | 402 1802 | Support | Нет в продаже |
|
| 20 | 402 7101 | Basic frame | Нет в продаже |
|
| 21 | 40210086 | Rocker arm | Нет в продаже |
|
| 22 | 40210094 | Plate | Нет в продаже |
|
| 23 | 317 3406 | Expansion bush | Нет в продаже |
|
| 24 | 323 8071 | Cap | Нет в продаже |
|
1
2
3
4
4
5
6
6
7
8
8
11
13
14
15
16
16
16
17
19
19
20
21
22
22
23
23
24
Содержащиеся в справочниках-каталогах запасные части и детали носят исключительно информационный характер