Оригинальные каталоги
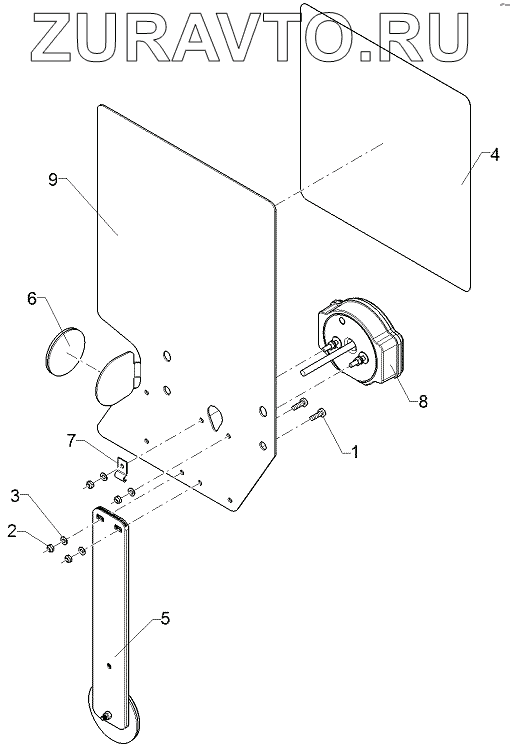
| № | Номер | Наименование | Цена | |
|---|---|---|---|---|
| 1 | 30110003 | Oval head screw | Нет в продаже |
|
| 2 | 303 0929 | Selflocking nut | Нет в продаже |
|
| 3 | 305 8569 | Washer | Нет в продаже |
|
| 4 | 321 9912 | Bonding sheet-warning board | Нет в продаже |
|
| 5 | 321 9915 | Reflector, red | Нет в продаже |
|
| 6 | 321 9919 | Self-adh. reflector, yellow | Нет в продаже |
|
| 7 | 373 1157 | Cable clip | Нет в продаже |
|
| 8 | 37310212 | Rear light | Нет в продаже |
|
| 9 | 470 1758 | Basic plate | Нет в продаже |
|
1
2
3
4
5
6
7
8
9
Содержащиеся в справочниках-каталогах запасные части и детали носят исключительно информационный характер