Оригинальные каталоги
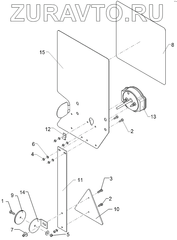
| № | Номер | Наименование | Цена | |
|---|---|---|---|---|
| 1 | 301 0301 | Flatheaded bolt | Нет в продаже |
|
| 2 | 30110003 | Oval head screw | Нет в продаже |
|
| 3 | 30110724 | Oval head screw | Нет в продаже |
|
| 4 | 303 0929 | Selflocking nut | Нет в продаже |
|
| 5 | 303 0931 | Selflocking nut | Нет в продаже |
|
| 6 | 305 8569 | Washer | Нет в продаже |
|
| 7 | 305 8572 | Washer | Нет в продаже |
|
| 8 | 321 9912 | Bonding sheet-warning board | Нет в продаже |
|
| 9 | 321 9921 | Reflector, yellow | Нет в продаже |
|
| 10 | 321 9931 | Reflector | Нет в продаже |
|
| 11 | 32110248 | Pendulum holder | Нет в продаже |
|
| 12 | 373 1157 | Cable clip | Нет в продаже |
|
| 13 | 37310212 | Rear light | Нет в продаже |
|
| 14 | 470 1199 | Holder | Нет в продаже |
|
| 15 | 470 1758 | Basic plate | Нет в продаже |
|
1
2
2
3
4
5
6
7
8
9
10
11
12
13
14
15
Содержащиеся в справочниках-каталогах запасные части и детали носят исключительно информационный характер