Оригинальные каталоги
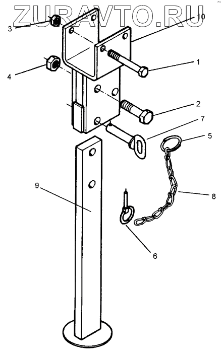
| № | Номер | Наименование | Цена | |
|---|---|---|---|---|
| 1 | 301 3550 | Bolt | Нет в продаже |
|
| 2 | 301 3870 | Bolt | Нет в продаже |
|
| 3 | 303 0934 | Selflocking nut | Нет в продаже |
|
| 4 | 303 0935 | Selflocking nut | Нет в продаже |
|
| 5 | 305 8551 | Securing clip | Нет в продаже |
|
| 6 | 311 9565 | Securing pin | Нет в продаже |
|
| 7 | 313 8140 | Pin with grip | Нет в продаже |
|
| 8 | 331 6130 | Chain | Нет в продаже |
|
| 9 | 429 2800 | Stand | Нет в продаже |
|
| 10 | 429 2806 | Holder for stand | Нет в продаже |
|
1
2
3
4
5
6
7
8
9
10
Содержащиеся в справочниках-каталогах запасные части и детали носят исключительно информационный характер