Назад

Оригинальные каталоги

zoom-in zoom-out enlarge shrink circle-right circle-left file-text2 info cart
Номер Наименование Цена
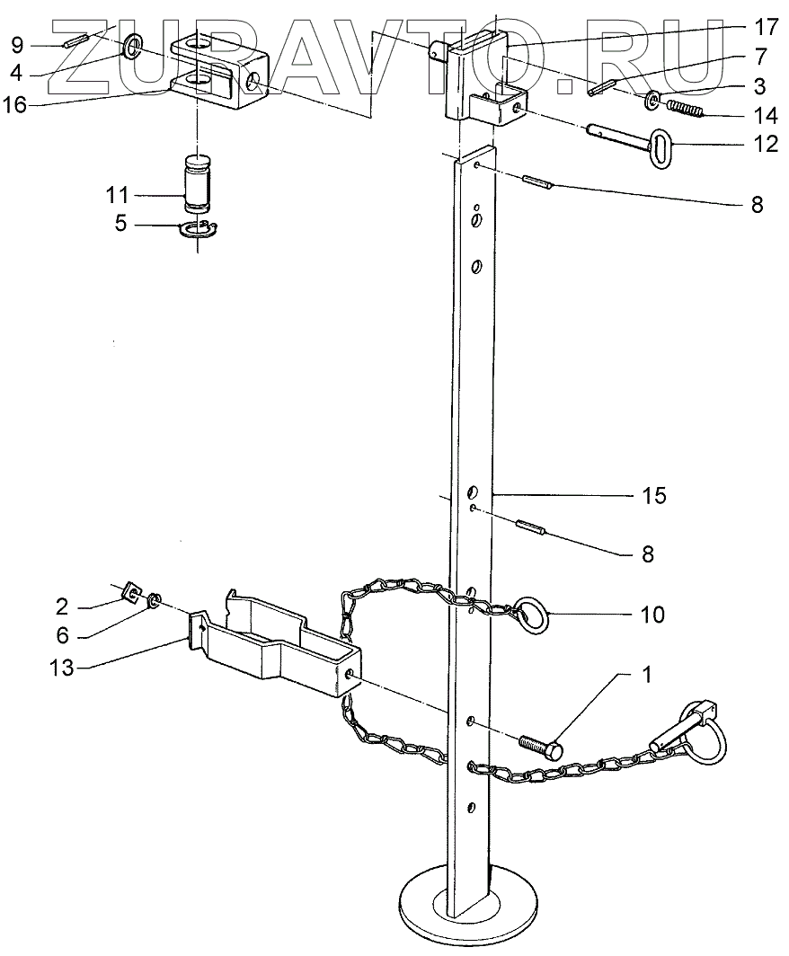
1 301 5004 Screw Нет в продаже
2 303 1100 Nut Нет в продаже
3 305 6135 Washer Нет в продаже
4 305 6254 Washer Нет в продаже
5 305 8867 Securing ring Нет в продаже
6 305 9900 Spring ring Нет в продаже
7 309 6038 Expansion bush Нет в продаже
8 309 6052 Expansion bush Нет в продаже
9 309 6072 Expansion bush Нет в продаже
10 311 9320 Securing pin Нет в продаже
11 313 7803 Pin Нет в продаже
12 313 8136 Pin with grip Нет в продаже
13 329 1798 U-spring Нет в продаже
14 329 8106 Spring Нет в продаже
15 429 2510 Stand Нет в продаже
16 429 4585 Holder Нет в продаже
17 429 4600 Guiding Нет в продаже
1
2
3
4
5
6
7
8
8
9
10
11
12
13
14
15
16
17
100%
Содержащиеся в справочниках-каталогах запасные части и детали носят исключительно информационный характер