Назад

Оригинальные каталоги

zoom-in zoom-out enlarge shrink circle-right circle-left file-text2 info cart
Номер Наименование Цена
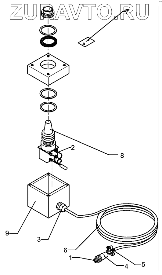
1 373 0300 Pin contact Нет в продаже
2 373 0453 Multicore cable end Нет в продаже
3 373 0766 Screw-type conduit fitting Нет в продаже
4 373 2170 Plug Нет в продаже
5 373 2171 Clamp Нет в продаже
6 373 4136 Cable, yellow Нет в продаже
7 390 9002 Label Нет в продаже
8 573 4610 Joystick-switch Нет в продаже
9 573 4611 Housing Нет в продаже
1
2
3
4
5
6
7
8
9
100%
Содержащиеся в справочниках-каталогах запасные части и детали носят исключительно информационный характер