Оригинальные каталоги
| № | Номер | Наименование | Цена | |
|---|---|---|---|---|
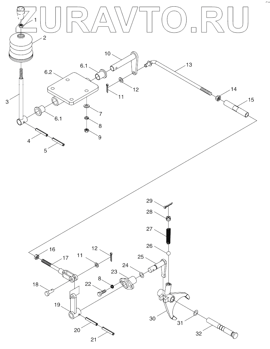
| TS04413010000 | TS04413010000 | PTO control assembly | Нет в продаже |
|
| 1 | GBT6170-M10-8-A3L | Hexagon Nut, Style 1 | Нет в продаже |
|
| 2 | TB704.413A-02 | Dustproof ring | Нет в продаже |
|
| 3 | TB504.413A.2 | PTO control lever weldment | Нет в продаже |
|
| 4 | GBT879.1-6X32 | Spring-type straight pin | Нет в продаже |
|
| 5 | GBT879.1-3.5X32 | Spring-type straight pin | Нет в продаже |
|
| 6 | TS04413010003 | Support seat press | Нет в продаже |
|
| 6.1 | TB480.413A.1-01 | Nylon bush | Нет в продаже |
|
| 6.2 | TB704.413A.3.1 | Support seat weldment | Нет в продаже |
|
| 7 | GBT97.1-8-A0P | Plain washer | Нет в продаже |
|
| 8 | GBT93-8-A0P | Standard spring washer | Нет в продаже |
|
| 9 | GBT6170-M8-8-A2L | Hexagon nut, style 1 | Нет в продаже |
|
| 10 | TS04413010004 | Control rocker arm weldment | Нет в продаже |
|
| 11 | GBT91-3.2X16-A0P | Split pin | Нет в продаже |
|
| 12 | GBT97.1-10-A0P | Plain washer | Нет в продаже |
|
| 13 | TS04413010005 | Intermediate drawbar | Нет в продаже |
|
| 14 | GBT6171-M10X1-LH-8-A2L | Hexagon nut, style 1 | Нет в продаже |
|
| 15 | FT800A.21.353 | Countershaft | Нет в продаже |
|
| 16 | GBT6171-M10X1-8-A2L | Hexagon nut, style 1 | Нет в продаже |
|
| 17 | TB504.413A.5 | Short pull rod weldment | Нет в продаже |
|
| 18 | GBT882-B10X30 | Pin shaft | Нет в продаже |
|
| 19 | TB480.413.2 | Rocker arm weldment | Нет в продаже |
|
| 20 | GBT879.1-6X26 | Spring-type straight pin | Нет в продаже |
|
| 21 | GBT879.1-3.5X26 | Spring-type straight pin | Нет в продаже |
|
| 22 | GBT5783-M8X20-8.8-A2L | Hexagon flange nut | Нет в продаже |
|
| 23 | FT300.41E.109 | Dial lever bush | Нет в продаже |
|
| 24 | GBT3452.1-16.0X2.65G | O-ring sealant used for hydraulic or pneumatic parts | Нет в продаже |
|
| 25 | TB550.413-04 | Finger-shaped dial lever | Нет в продаже |
|
| 26 | GBT308-9.5-G100-b | Steel ball | Нет в продаже |
|
| 27 | FT704.42B.163 | Retaining spring, fork shaft | Нет в продаже |
|
| 28 | TB550.413-03 | Screw | Нет в продаже |
|
| 29 | GBT91-2.5X32-A0P | Split pin | Нет в продаже |
|
| 30 | TB550.413-01a | PTO control shift fork | Нет в продаже |
|
| 31 | GBT3452.1-11.2X2.65G | O-ring sealant used for hydraulic or pneumatic parts | Нет в продаже |
|
| 32 | FT300.41C.107a | PTO shift fork shaft | Нет в продаже |
|
TS04413010000
1
2
3
4
5
6.1
6.1
6.2
7
8
8
9
10
11
11
12
12
13
14
15
16
17
18
19
20
21
22
23
24
25
26
27
28
29
30
31
32
Содержащиеся в справочниках-каталогах запасные части и детали носят исключительно информационный характер