Оригинальные каталоги
| № | Номер | Наименование | Цена | |
|---|---|---|---|---|
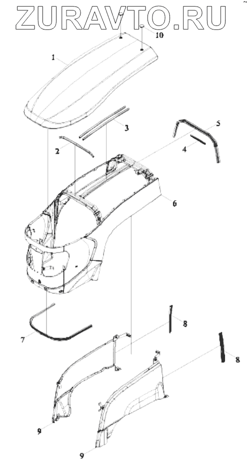
| 1 | TS06471012001 | BONNET UP COVER PLATE | Нет в продаже |
|
| 2 | TS06471010007 | FRONT SHOCK WASHER | Нет в продаже |
|
| 3 | TS06471010004 | MIDDLE SHOCK WASHER | Нет в продаже |
|
| 4 | TS06471010008 | BACK SHOCK RUBBER STRIP | Нет в продаже |
|
| 5 | TS06471010001 | BONNET REAR SEAL STRIP | Нет в продаже |
|
| 6 | TS06471011000 | BONNET WELDMENT ASSEMBLY | Нет в продаже |
|
| 7 | TS06471010002 | FRONT LOWER CUSHION RUBBER PIECE | Нет в продаже |
|
| 8 | TS06471010006 | SEAL STRIP | Нет в продаже |
|
| 9 | TS06471014000 | LOWER SIDE PLATE | Нет в продаже |
|
| 10 | TS06471010005 | Rubber Plug | Нет в продаже |
|
1
2
3
4
5
6
7
8
8
9
9
10
Содержащиеся в справочниках-каталогах запасные части и детали носят исключительно информационный характер