Оригинальные каталоги
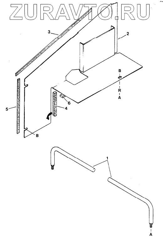
| № | Номер | Наименование | Цена | |
|---|---|---|---|---|
| 1 | 42536 | ROD | Нет в продаже |
|
| 2 | 42644 | PANEL | Нет в продаже |
|
| 3 | 42264 | SEAL | Нет в продаже |
|
| 4 | 42266 | SEAL | Нет в продаже |
|
| 5 | 42272 | SEAL | Нет в продаже |
|
| 6 | 42273 | SEAL | Нет в продаже |
|
| A | 21452 | NUT - FLANGE (SERR FACE) 375-16UNC | Нет в продаже |
|
| B | 30228 | Гайка | Нет в продаже |
|
| R | REF | PUMP – triple gear | Нет в продаже |
|
1
2
3
4
5
6
A
A
B
B
R
Содержащиеся в справочниках-каталогах запасные части и детали носят исключительно информационный характер