Оригинальные каталоги
| № | Номер | Наименование | Цена | |
|---|---|---|---|---|
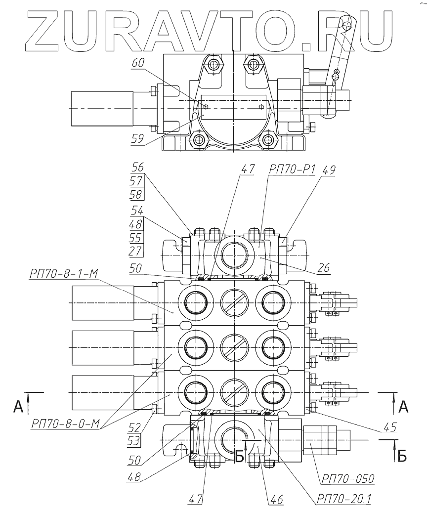
| РП70-888-001-MMM-20Р1 | РП70-888-001-MMM-20Р1 | Гидрораспределитель | Нет в продаже |
|
| РП70-8-0-M | РП70-8-0-M | Секция распределителя | Нет в продаже |
|
| РП70-8-1-M | РП70-8-1-M | Секция распределителя | Нет в продаже |
|
| 1 | 8ПМ170.027 | Труба | Нет в продаже |
|
| 1 | РП70-090 | Труба | Нет в продаже |
|
| 2 | РП-70-034 | Пружина | Нет в продаже |
|
| 3 | РП70-026 | Винт | Нет в продаже |
|
| 4 | РП70-018-01 | Тарелка | Нет в продаже |
|
| 5 | БУ-8/1.01.010А-01 | Пружина | Нет в продаже |
|
| 6 | 5,556-100 | Шарик | Нет в продаже |
|
| 8 | 017-020-19-2-4 | Кольцо | Нет в продаже |
|
| 9 | РП70-024 | Пробка | Нет в продаже |
|
| 10 | РП70-027 | Пружина | Нет в продаже |
|
| 11 | РП70-023 | Затвор | Нет в продаже |
|
| 12 | РП70-031 | Кольцо | Нет в продаже |
|
| 13 | РП70-042 | Планка | Нет в продаже |
|
| 14 | Палец6х22 | Палец | Нет в продаже |
|
| 15 | 2х50.019DINENISO1234:98 | Шплинт | Нет в продаже |
|
| 16 | РП70-032 | Кольцо | Нет в продаже |
|
| 17 | РП70-011 | Корпус секции распределителя | Нет в продаже |
|
| 18 | РП70-013 | Золотник | Нет в продаже |
|
| 19 | 030-034-25-2-2 | Кольцо | Нет в продаже |
|
| 20 | 9,525-100 | Шарик | Нет в продаже |
|
| 21 | РП70-014-02 | Обойма | Нет в продаже |
|
| 21 | РП70-014 | Обойма | Нет в продаже |
|
| 22 | 016-020-25-2-2 | Кольцо | Нет в продаже |
|
| 23 | 009-012-19-1-4 | Кольцо | Нет в продаже |
|
| 24 | РП70-016 | Футорка | Нет в продаже |
|
| 25 | РП70-018 | Тарелка | Нет в продаже |
|
| 26 | РП70-Р1 | Крышка | Нет в продаже |
|
| 26 | РП70-012 | Крышка | Нет в продаже |
|
| 27 | 018-021-19-2-4 | Кольцо | Нет в продаже |
|
| 28 | РП70-058 | Кольцо | Нет в продаже |
|
| 29 | 70-4609037 | Пружина | Нет в продаже |
|
| 30 | РП70-050 | Клапан предохранительный | Нет в продаже |
|
| 30 | РП70-052-Б | Клапан | Нет в продаже |
|
| 31 | РП70-054 | Седло | Нет в продаже |
|
| 32 | РП70-051 | Корпус | Нет в продаже |
|
| 33 | 016-020-25-2-4 | Кольцо | Нет в продаже |
|
| 34 | МКПВ-16/3Ф-103 | Пружина | Нет в продаже |
|
| 35 | РП70-059 | Винт | Нет в продаже |
|
| 36 | РП70-053 | Штуцер | Нет в продаже |
|
| 37 | РП70-076 | Гайка | Нет в продаже |
|
| 38 | РП70-057 | Колпачок | Нет в продаже |
|
| 39 | С6.01.019 | Шайба | Нет в продаже |
|
| 40 | 013-016-19-2-2 | Кольцо | Нет в продаже |
|
| 41 | РП70-058-02 | Кольцо | Нет в продаже |
|
| 42 | МКПВ-16/3Ф-101 | Игла | Нет в продаже |
|
| 43 | 028-032-25-2-2 | Кольцо | Нет в продаже |
|
| 44 | РП70-058-01 | Кольцо | Нет в продаже |
|
| 45 | РП70-070 | Кронштейн | Нет в продаже |
|
| 45 | РП70-074 | Кронштейн | Нет в продаже |
|
| 46 | РП70-20.1 | Крышка | Нет в продаже |
|
| 46 | РП70-012-01 | Крышка | Нет в продаже |
|
| 47 | 036-040-25-2-2 | Кольцо | Нет в продаже |
|
| 48 | ШайбаРМ24 | Шайба | Нет в продаже |
|
| 49 | РП70-036 | Пробка | Нет в продаже |
|
| 50 | 060-066-36-2-2 | Кольцо | Нет в продаже |
|
| 50 | 60,00-3,50SIMRIT72NBR872 | Кольцо | Нет в продаже |
|
| 51 | РС70-036 | Упор | Нет в продаже |
|
| 52 | В.М6-6gх12.58.019 | Винт | Нет в продаже |
|
| 53 | 6Т | Шайба | Нет в продаже |
|
| 54 | РП70-081 | Заглушка | Нет в продаже |
|
| 54 | РП70-080 | Заглушка | Нет в продаже |
|
| 55 | РП70-058 | Кольцо | Нет в продаже |
|
| 56 | РП70-037-02 | Шпилька | Нет в продаже |
|
| 57 | М10-6Н.6.019 | Гайка | Нет в продаже |
|
| 58 | 10.ОТ | Шайба | Нет в продаже |
|
| 59 | РП70-038 | Табличка фирменная | Нет в продаже |
|
| 60 | 2х6.01.10кп.05 | Заклепка | Нет в продаже |
|
| 61 | 021-025-25-1-4 | Кольцо | Нет в продаже |
|
26
27
45
45
46
47
47
48
48
49
50
50
50
52
53
54
55
56
57
58
59
60
Содержащиеся в справочниках-каталогах запасные части и детали носят исключительно информационный характер