Оригинальные каталоги
| № | Номер | Наименование | Цена | |
|---|---|---|---|---|
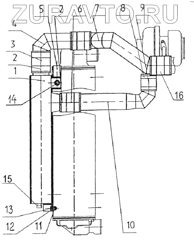
| 1 | 1025-1317100 | Охладитель наддувочного воздуха | Нет в продаже |
|
| 2 | НОРМАGBS71/25W2 | Хомут | Нет в продаже |
|
| 3 | Патрубок60х80 | Патрубок | Нет в продаже |
|
| 4 | 1025П-1317600 | Воздуховод | Нет в продаже |
|
| 5 | 1025-1317735 | Кронштейн | Нет в продаже |
|
| 6 | Патрубок60х80 | Патрубок | Нет в продаже |
|
| 7 | 1025-1317610 | Воздухопровод | Нет в продаже |
|
| 8 | НОРМАGBS61/20W2 | Хомут | Нет в продаже |
|
| 9 | Патрубок50х100 | Патрубок силиконовый | Нет в продаже |
|
| 10 | 1025П-1317620 | Воздуховод | Нет в продаже |
|
| 11 | М8-6Н.6.019 | Гайка | Нет в продаже |
|
| 12 | С8.01.019 | Шайба | Нет в продаже |
|
| 13 | Шайба8Т | Шайба 8Т | Нет в продаже |
|
| 14 | М8-6gx16.88.35.019 | Болт | Нет в продаже |
|
| 15 | КГ1/4.А12.019 | Пробка | Нет в продаже |
|
| 16 | Патрубок63х80 | Патрубок силиконовый | Нет в продаже |
|
1
2
2
3
4
5
6
7
8
9
10
11
12
13
14
15
16
Содержащиеся в справочниках-каталогах запасные части и детали носят исключительно информационный характер