Оригинальные каталоги
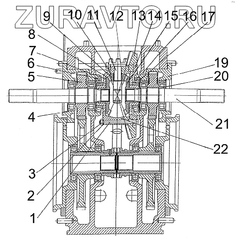
| № | Номер | Наименование | Цена | |
|---|---|---|---|---|
| 2022-2403010 | 2022-2403010 | Дифференциал | Нет в продаже |
|
| 2022-2403020 | 2022-2403020 | Дифференциал для запчастей | Нет в продаже |
|
| 2022-2407060 | 2022-2407060 | Стакан подшипников | Нет в продаже |
|
| 1 | 2022-2403034 | Болт | Нет в продаже |
|
| 2 | 2022-2403023 | Пластина стопорная | Нет в продаже |
|
| 3 | ГайкаМ12 | Гайка М 12 | Нет в продаже |
|
| 4 | КольцоС125 | Кольцо С125 | Нет в продаже |
|
| 5 | 2022-2407052 | Шестерня | Нет в продаже |
|
| 6 | 7216А | Подшипник | Нет в продаже |
|
| 7 | 2022-2403049 | Шайба | Нет в продаже |
|
| 8 | 2022-2403019-Б | Крышка | Нет в продаже |
|
| 9 | 2022-2403055 | Сателлит | Нет в продаже |
|
| 10 | 2022-2403025-Б | Шайба сателлита | Нет в продаже |
|
| 11 | 2022-2403062-Б | Крестовина | Нет в продаже |
|
| 12 | Ролик4х29,8А3 | Ролик 4х29,8 А3 | Нет в продаже |
|
| 13 | 2022-2403021-В | Шестерня ведомая | Нет в продаже |
|
| 14 | 2022-2403018 | Корпус | Нет в продаже |
|
| 15 | 2022-2403048 | Шестерня полуосевая | Нет в продаже |
|
| 16 | 30216 | Подшипник | Нет в продаже |
|
| 17 | 2022-2407043 | Кольцо | Нет в продаже |
|
| 19 | 2022-2407042 | Стакан подшипников | Нет в продаже |
|
| 20 | 42311М1 | Подшипник | Нет в продаже |
|
| 21 | 2022-2407053 | Вал | Нет в продаже |
|
| 22 | 2022-2403017-Б | Проставка | Нет в продаже |
|
1
2
3
4
5
6
7
8
9
10
11
12
13
14
15
16
17
19
20
21
22
Содержащиеся в справочниках-каталогах запасные части и детали носят исключительно информационный характер