Оригинальные каталоги
| № | Номер | Наименование | Цена | |
|---|---|---|---|---|
| 923-1602010-А | 923-1602010-А | Управление сцеплением | Нет в продаже |
|
| 923-1602010-А-01 | 923-1602010-А-01 | Управление сцеплением | Нет в продаже |
|
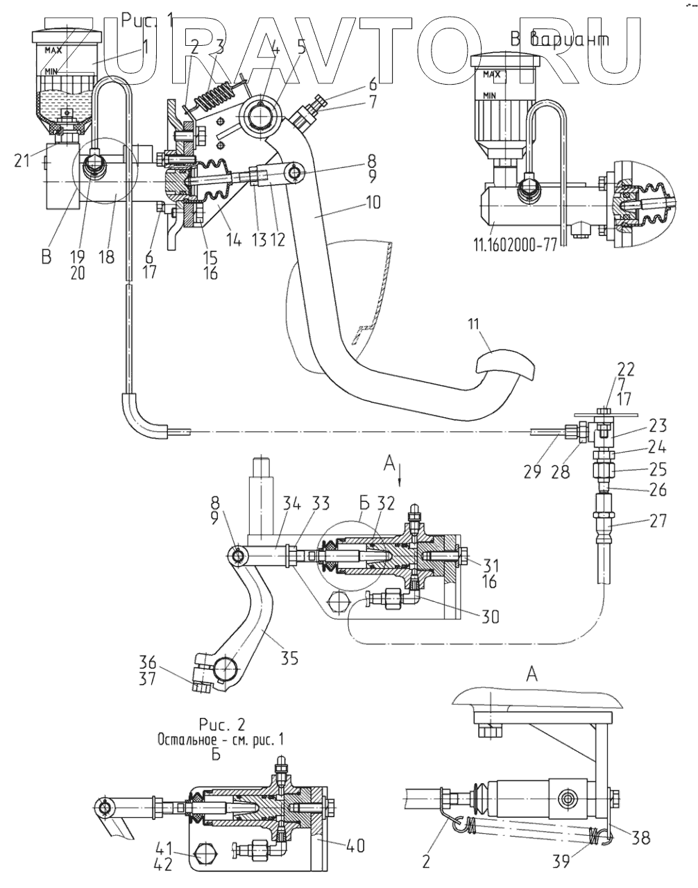
| 1 | 822-1602120 | Бачок | Нет в продаже |
|
| 2 | 80-1602116 | Ушко | Нет в продаже |
|
| 3 | 70-4616033зам | Пружина | Нет в продаже |
|
| 4 | 4х36.019 | Шплинт | Нет в продаже |
|
| 5 | 50-3406037 | Шайба упорная | Нет в продаже |
|
| 6 | М8-6gх35.88.35.019 | Болт | Нет в продаже |
|
| 7 | М8-6Н.6.019 | Гайка | Нет в продаже |
|
| 8 | 3,2х18.019 | Шплинт | Нет в продаже |
|
| 9 | 12х32 | Палец | Нет в продаже |
|
| 10 | 1522-1602020-Б | Педаль | Нет в продаже |
|
| 11 | А13.33.002 | Чехол | Нет в продаже |
|
| 12 | 822-3502203 | Вилка | Нет в продаже |
|
| 13 | М10-6Н.6.019 | Гайка | Нет в продаже |
|
| 14 | 1522-1602030-Б | Кронштейн | Нет в продаже |
|
| 15 | М10-6gх25.88.35.019 | Болт | Нет в продаже |
|
| 16 | 10.ОТ | Шайба | Нет в продаже |
|
| 17 | 8Т | Шайба | Нет в продаже |
|
| 18 | C2602 | Цилиндр главный привода сцепления | Нет в продаже |
|
| 18 | 11.1602000-77 | Цилиндр главный привода сцепления | Нет в продаже |
|
| 19 | 36-1104787 | Болт | Нет в продаже |
|
| 20 | 36-1104788 | Прокладка | Нет в продаже |
|
| 21 | Д18-055-А | Шайба | Нет в продаже |
|
| 22 | М8-6gх25.88.35.019 | Болт | Нет в продаже |
|
| 23 | 80В-1602106-Б | Угольник | Нет в продаже |
|
| 24 | 822-3503155 | Штуцер | Нет в продаже |
|
| 25 | Д80-4607212 | Гайка | Нет в продаже |
|
| 26 | 923-3503221 | Ниппель | Нет в продаже |
|
| 27 | S7979540 | Шланг гидравлического привода сцепления | Нет в продаже |
|
| 27 | 2022-1602200 | Рукав гибкий сцепления, тип 11 | Нет в продаже |
|
| 28 | 822-3503701 | Штуцер | Нет в продаже |
|
| 29 | 2522-1602595-Б1 | Трубопровод | Нет в продаже |
|
| 30 | 822-3503037 | Угольник ввертной | Нет в продаже |
|
| 31 | М10-6gх30.88.35.019 | Болт ГОСТ 7796-70 | Нет в продаже |
|
| 32 | Р2603 | Цилиндр рабочий привода сцепления | Нет в продаже |
|
| 33 | М12х1,25-6Н.04.019 | Гайка | Нет в продаже |
|
| 34 | 50-3502203 | Вилка | Нет в продаже |
|
| 35 | 80-1601219-Б | Рычаг | Нет в продаже |
|
| 36 | М12-6gх35.88.35.019 | Болт | Нет в продаже |
|
| 37 | 12.ОТ | Шайба | Нет в продаже |
|
| 38 | 923-1602116 | Ушко | Нет в продаже |
|
| 39 | 70-4803019 | Пружина | Нет в продаже |
|
| 40 | 921-1602060 | Кронштейн | Нет в продаже |
|
| 41 | М16-6gх32.88.35.019 | Болт | Нет в продаже |
|
| 42 | 16.ОТ | Шайба | Нет в продаже |
|
1
2
2
3
4
5
6
6
7
7
8
8
9
9
10
11
12
13
14
15
16
16
17
17
18
18
18
19
20
21
22
23
24
25
26
27
27
27
28
29
30
31
32
33
34
35
36
37
38
39
40
41
42
Содержащиеся в справочниках-каталогах запасные части и детали носят исключительно информационный характер