Оригинальные каталоги
| № | Номер | Наименование | Цена | |
|---|---|---|---|---|
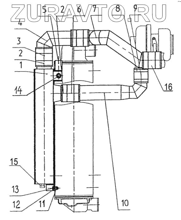
| 1025-1317010 | 1025-1317010 | Установка охладителя наддувочного воздуха | Нет в продаже |
|
| 1 | 1025-1317100 | Охладитель наддувочного воздуха | Нет в продаже |
|
| 2 | НОРМАGBS71/25W2 | Хомут | Нет в продаже |
|
| 3 | 978059079 | Патрубок силиконовый | Нет в продаже |
|
| 3 | PR001-60-80-PES | Патрубок термостойкий | Нет в продаже |
|
| 3 | 270003151-А | Патрубок силиконовый | Нет в продаже |
|
| 4 | 1025П-1317600 | Воздуховод | Нет в продаже |
|
| 5 | 1025-1317735 | Кронштейн | Нет в продаже |
|
| 6 | 270003151-В | Патрубок силиконовый 60x80 красный | Нет в продаже |
|
| 6 | PR001-60-80-MA | Патрубок силиконовый 60x80 красный | Нет в продаже |
|
| 6 | 978060082 | Патрубок силиконовый 60x80 красный | Нет в продаже |
|
| 7 | 1025-1317610 | Воздухопровод | Нет в продаже |
|
| 8 | НОРМАGBS61/20W2 | Хомут | Нет в продаже |
|
| 9 | 270003194-В | Патрубок силиконовый 50x100 красный | Нет в продаже |
|
| 9 | PR001-50-100-MA | Патрубок термостойкий | Нет в продаже |
|
| 10 | 1025П-1317620 | Воздуховод | Нет в продаже |
|
| 11 | М8-6Н.6.019 | Гайка | Нет в продаже |
|
| 12 | С8.01.019 | Шайба | Нет в продаже |
|
| 13 | 8Т | Шайба | Нет в продаже |
|
| 14 | М8-6gх25.88.35.019 | Болт | Нет в продаже |
|
| 15 | КГ1/4dm.А12.019 | Пробка | Нет в продаже |
|
| 16 | 270003191-А | Патрубок силиконовый 63x80 синий | Нет в продаже |
|
| 16 | PR001-63-80-PES | Патрубок силиконовый 63x80 синий | Нет в продаже |
|
1
2
2
3
3
3
3
3
4
5
6
6
6
6
6
7
8
9
9
9
10
11
12
13
14
15
16
16
16
Содержащиеся в справочниках-каталогах запасные части и детали носят исключительно информационный характер