Оригинальные каталоги
| № | Номер | Наименование | Цена | |
|---|---|---|---|---|
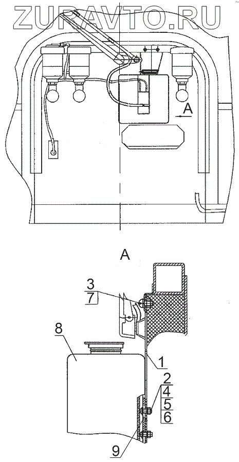
| 2522-5208010 | 2522-5208010 | Установка стеклоомывателя переднего | Нет в продаже |
|
| 1 | 923-5208005 | Кронштейн | Нет в продаже |
|
| 2 | Винт В.М4-6дх12.58.019 | Винт | Нет в продаже |
|
| 3 | Винт В.М6-6дх16.58.019 | Винт | Нет в продаже |
|
| 4 | Гайка М4-6Н.6.019 | Гайка | Нет в продаже |
|
| 5 | Шайба С 4.01.019 | Шайба | Нет в продаже |
|
| 6 | Шайба 4Т | Шайба | Нет в продаже |
|
| 7 | Шайба 6Т | Шайба 6Т | Нет в продаже |
|
| 8 | 122.5208 000 | Омыватель электрический | Нет в продаже |
|
| 8 | СЭАТ-33 | Стеклоомыватель электрический | Нет в продаже |
|
| 9 | 1222-5208001-А | Кронштейн | Нет в продаже |
|
| 9 | 122.5208 304 | Кронштейн | Нет в продаже |
|
1
2
3
4
5
6
7
8
8
9
9
Содержащиеся в справочниках-каталогах запасные части и детали носят исключительно информационный характер