Оригинальные каталоги
| № | Номер | Наименование | Цена | |
|---|---|---|---|---|
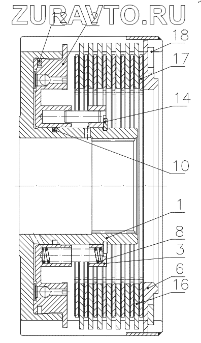
| 3525-1701080-А | 3525-1701080-А | Фрикцион | Нет в продаже |
|
| 1 | 3525-1701800 | Барабан | Нет в продаже |
|
| 2 | 3522-1701380 | Поршень | Нет в продаже |
|
| 3 | 3522-1701385 | Опора пружины | Нет в продаже |
|
| 6 | 2822-1701379 | Диск упорный | Нет в продаже |
|
| 8 | 2522-1701395 | Пружина | Нет в продаже |
|
| 10 | 142-1701381 | Кольцо | Нет в продаже |
|
| 12 | 80-1701382 | Кольцо | Нет в продаже |
|
| 14 | С80 | Кольцо | Нет в продаже |
|
| 16 | LD2220087 | Диск ведущий | Нет в продаже |
|
| 17 | 696392A0 | Диск фрикционный | Нет в продаже |
|
| 18 | 185 DIN 472: 2017 | Кольцо стопорное | Нет в продаже |
|
1
2
3
6
8
10
12
14
16
17
18
Содержащиеся в справочниках-каталогах запасные части и детали носят исключительно информационный характер