Оригинальные каталоги
| № | Номер | Наименование | Цена | |
|---|---|---|---|---|
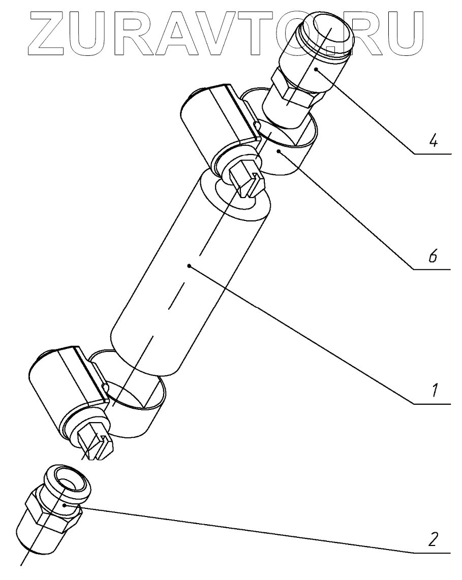
| 651-2401200 | 651-2401200 | Сапун | Нет в продаже |
|
| 1 | 422-2401021 | Шланг | Нет в продаже |
|
| 2 | СУ 1/8"-1 | Штуцер сапуна | Нет в продаже |
|
| 4 | 2300.01 | Сапун | Нет в продаже |
|
| 6 | 5000.01 | Хомут | Нет в продаже |
|
1
2
4
6
Содержащиеся в справочниках-каталогах запасные части и детали носят исключительно информационный характер