Оригинальные каталоги
| № | Номер | Наименование | Цена | |
|---|---|---|---|---|
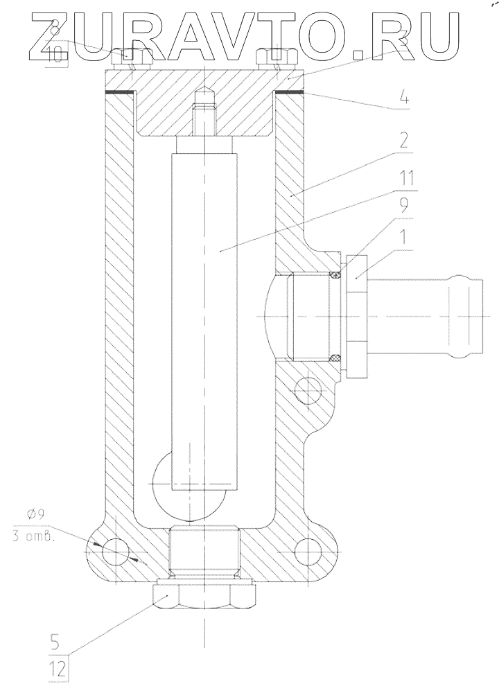
| Гидросистема трансмиссии | Гидросистема трансмиссии | Гидросистема трансмиссии | Нет в продаже |
|
| 77-4637210 | 77-4637210 | Фильтр магнитный | Нет в продаже |
|
| 1 | 3022-4607230 | Штуцер | Нет в продаже |
|
| 2 | 77-4637211 | Корпус | Нет в продаже |
|
| 3 | 77-4637221 | Крышка | Нет в продаже |
|
| 4 | 77-4637223 | Прокладка | Нет в продаже |
|
| 5 | 70-4607163 | Пробка | Нет в продаже |
|
| 8 | 911031 | Болт М8-6gх20.88.35.019 | Нет в продаже |
|
| 9 | 941161 | Кольцо | Нет в продаже |
|
| 10 | 916009 4598169046 | Шайба | Нет в продаже |
|
| 11 | 4637.04 | Магнитный уловитель | Нет в продаже |
|
| 12 | 4600.20 | Шайба РМ1/2 | Нет в продаже |
|
1
2
3
4
5
8
9
10
11
12
Содержащиеся в справочниках-каталогах запасные части и детали носят исключительно информационный характер