Оригинальные каталоги
| № | Номер | Наименование | Цена | |
|---|---|---|---|---|
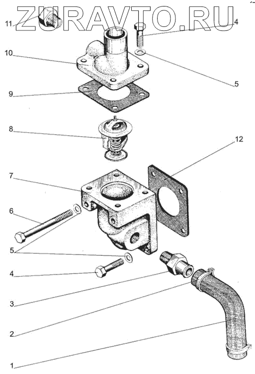
| 245-1306030 | 245-1306030 | Корпус термостата | Нет в продаже |
|
| 1 | 50-1306028-В3 | Шланг | Нет в продаже |
|
| 2 | 20-32 | Хомут Норма | Нет в продаже |
|
| 3 | 245-1306027 | Штуцер | Нет в продаже |
|
| 4 | М8х25 | Болт | Нет в продаже |
|
| 5 | 50-1401067 | Шайба | Нет в продаже |
|
| 6 | М8х95 | Болт | Нет в продаже |
|
| 7 | 245-1306021 | Корпус | Нет в продаже |
|
| 8 | ТС-107-1306100-01 | Термостат | Нет в продаже |
|
| 9 | 245-1306023 | Прокладка | Нет в продаже |
|
| 10 | 245-1306025 | Крышка | Нет в продаже |
|
| 11 | КГ 3/8 (А12.016) | Пробка | Нет в продаже |
|
| 12 | 50-1306026 | Прокладка | Нет в продаже |
|
245-1306030
1
2
3
4
4
5
5
6
7
8
9
10
11
12
Содержащиеся в справочниках-каталогах запасные части и детали носят исключительно информационный характер