Назад

Оригинальные каталоги

zoom-in zoom-out enlarge shrink circle-right circle-left file-text2 info cart
Номер Наименование Цена
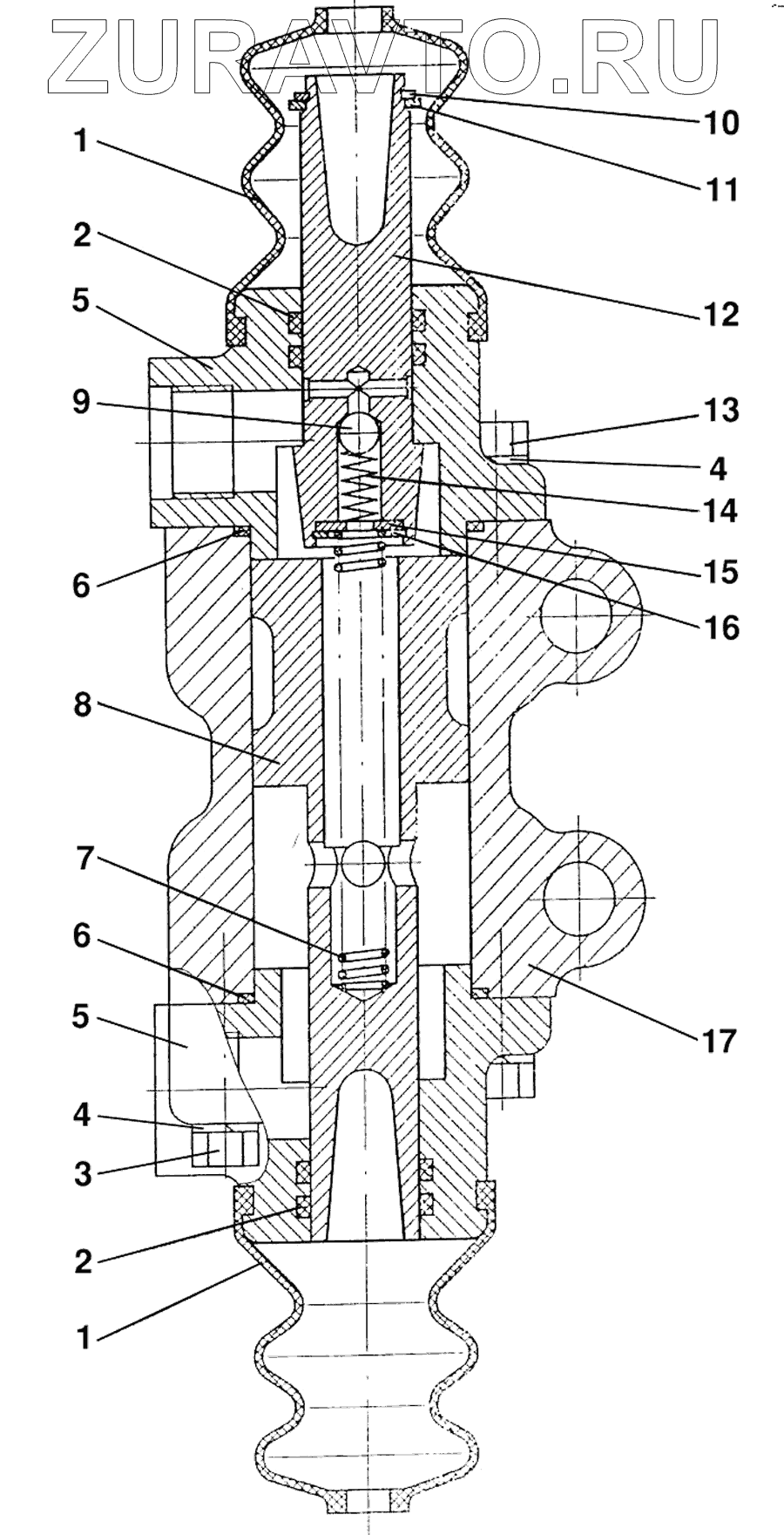
80-1602510 80-1602510 Гидроусилитель Нет в продаже
1 142-1602543 Чехол защитный Нет в продаже
2 020-025-30-1-4 Кольцо Нет в продаже
3 М8х40 Болт Нет в продаже
4 ШП8 Шайба Нет в продаже
5 80-1602512 Крышка Нет в продаже
6 040-044-25-1-2 Кольцо Нет в продаже
7 80В-1602046 Пружина Нет в продаже
8 80-1602513 Поршень Нет в продаже
9 6,350-100 Шарик Нет в продаже
10 С18 Кольцо Нет в продаже
11 80-1602514 Кольцо Нет в продаже
12 80-1602521 Толкатель Нет в продаже
13 М8х25 Болт Нет в продаже
14 80-3405044 Пружина Нет в продаже
15 ШЧ5 Шайба Нет в продаже
16 С16 Шайба Нет в продаже
17 80-1602511 Корпус Нет в продаже
1
1
2
2
3
4
4
5
5
6
6
7
8
9
10
11
12
13
14
15
16
17
100%
Содержащиеся в справочниках-каталогах запасные части и детали носят исключительно информационный характер