Оригинальные каталоги
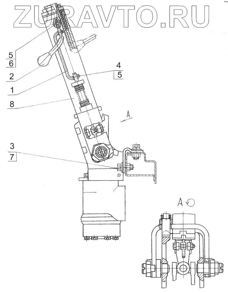
| № | Номер | Наименование | Цена | |
|---|---|---|---|---|
| 1 | 70-3401085 | Рычаг с тягой, шайбой и шплинтом в сборе | Нет в продаже |
|
| 2 | 70-3401093 | Наконечник | Нет в продаже |
|
| 3 | М10-6дх25.88.35.019 | Болт | Нет в продаже |
|
| 4 | 6.01.08кп.019 | Шайба | Нет в продаже |
|
| 5 | 2x12.019 | Шплинт | Нет в продаже |
|
| 6 | 6x18.016 | Палец | Нет в продаже |
|
| 7 | 10ОТ | Шайба ОСТ 37.001.115-75 | Нет в продаже |
|
| 8 | 80В-3401000 | Колонка рулевая | Нет в продаже |
|
1
2
3
4
5
5
6
7
8
Содержащиеся в справочниках-каталогах запасные части и детали носят исключительно информационный характер