Оригинальные каталоги
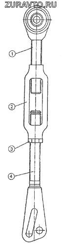
| № | Номер | Наименование | Цена | |
|---|---|---|---|---|
| 1220-4606150 | 1220-4606150 | Раскос | Нет в продаже |
|
| 1 | 1220-4606160 | Винт | Нет в продаже |
|
| 2 | А61.02.001 | Стяжка раскоса | Нет в продаже |
|
| 3 | А61.02.003 | Контргайка | Нет в продаже |
|
| 4 | 70-4605100 | Вилка | Нет в продаже |
|
1220-4606150
1
2
3
4
Содержащиеся в справочниках-каталогах запасные части и детали носят исключительно информационный характер