Оригинальные каталоги
| № | Номер | Наименование | Цена | |
|---|---|---|---|---|
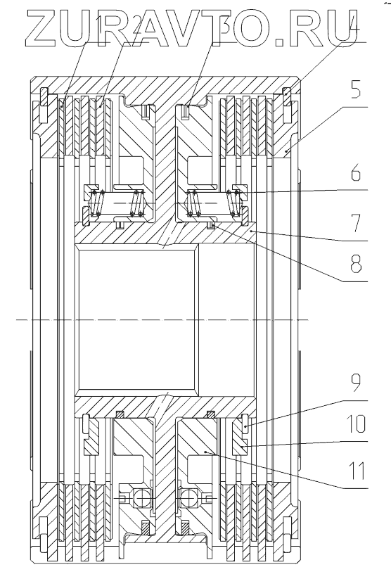
| 2025-1701070 | 2025-1701070 | Фрикцион | Нет в продаже |
|
| 1 | 696392А0 | Диск фрикционный | Нет в продаже |
|
| 2 | LD2220087 | Диск ведущий | Нет в продаже |
|
| 3 | 80-1701382 | Кольцо | Нет в продаже |
|
| 4 | 80-1701392 | Кольцо | Нет в продаже |
|
| 5 | 80-1701379 | Диск упорный | Нет в продаже |
|
| 6 | 80-1701395 | Пружина | Нет в продаже |
|
| 7 | 2025-1701372 | Барабан | Нет в продаже |
|
| 8 | 142-1701381 | Кольцо | Нет в продаже |
|
| 9 | КольцоС80 | Кольцо С80 | Нет в продаже |
|
| 10 | 80-1701373 | Опора | Нет в продаже |
|
| 11 | 80-1701380 | Поршень с шариком в сборе | Нет в продаже |
|
1
2
3
4
5
6
7
8
9
10
11
Содержащиеся в справочниках-каталогах запасные части и детали носят исключительно информационный характер