Оригинальные каталоги
| № | Номер | Наименование | Цена | |
|---|---|---|---|---|
| 2103-1600180 | 2103-1600180 | Отвод | Нет в продаже |
|
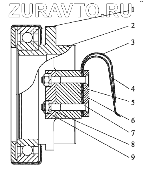
| 1 | 2522-1601190-А | Подшипник | Нет в продаже |
|
| 2 | 2522-1601185 | Отводка | Нет в продаже |
|
| 3 | 2522-1601191 | Пластина | Нет в продаже |
|
| 4 | 2522-1601188 | Пружина | Нет в продаже |
|
| 5 | 2522-1601187 | Пластина опорная | Нет в продаже |
|
| 6 | 2103-1600193 | Пластина | Нет в продаже |
|
| 7 | B.M6-6gx40.58.019 | Винт | Нет в продаже |
|
| 8 | 4598166045 | Шайба 6Т | Нет в продаже |
|
| 9 | М6-6Н.6.019 | Гайка | Нет в продаже |
|
2103-1600180
1
2
3
4
5
6
7
8
9
Содержащиеся в справочниках-каталогах запасные части и детали носят исключительно информационный характер