Оригинальные каталоги
| № | Номер | Наименование | Цена | |
|---|---|---|---|---|
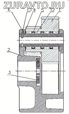
| 2522-2407535 | 2522-2407535 | Водило | Нет в продаже |
|
| 1 | 2522-2405035 | Сателлит | Нет в продаже |
|
| 2 | 2522-2407536-A1 | Водило | Нет в продаже |
|
| 3 | 2522-2407537 | Шайба | Нет в продаже |
|
| 4 | 2522-2407538 | Шайба сателлита | Нет в продаже |
|
| 5 | 2522-2407539 | Шайба распорная | Нет в продаже |
|
| 6 | 2522-2407556 | Ось сателлита | Нет в продаже |
|
| 12 | 10x30II | Ролик | Нет в продаже |
|
| 13 | А8х4065Г | Штифт | Нет в продаже |
|
2522-2407535
1
2
3
4
5
6
12
13
Содержащиеся в справочниках-каталогах запасные части и детали носят исключительно информационный характер