Назад

Оригинальные каталоги

zoom-in zoom-out enlarge shrink circle-right circle-left file-text2 info cart
Номер Наименование Цена
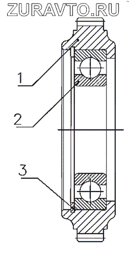
1 2522-1704150-Б Шестерня Нет в продаже
1 2522-1704102-Б Шестерня Нет в продаже
2 212АУШ1 Подшипник Нет в продаже
3 2С110 Кольцо Нет в продаже
1
1
2
3
100%
Содержащиеся в справочниках-каталогах запасные части и детали носят исключительно информационный характер