Оригинальные каталоги
| № | Номер | Наименование | Цена | |
|---|---|---|---|---|
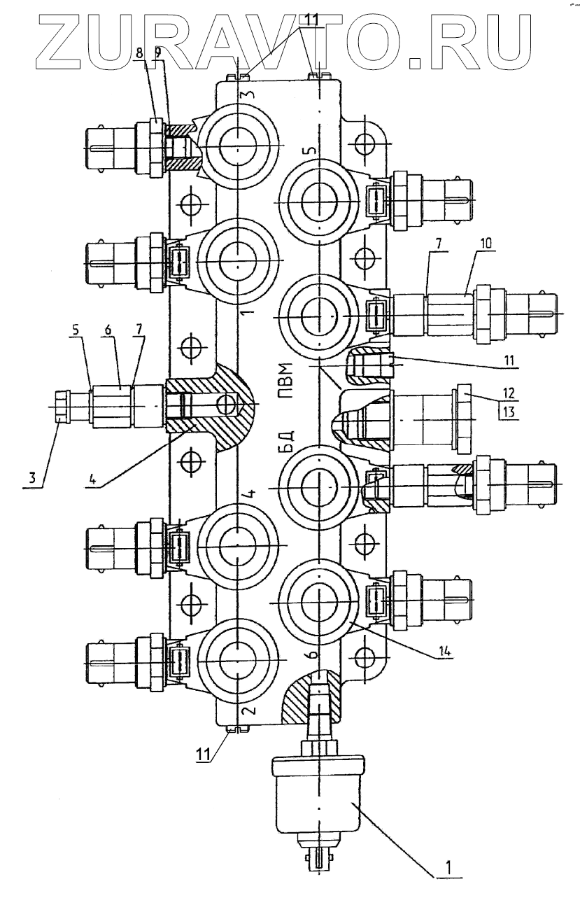
| 2822-1712010 | 2822-1712010 | Распределитель | Нет в продаже |
|
| 1 | ДД-20М | Датчик давления | Нет в продаже |
|
| 3 | 36-1104787 | Болт | Нет в продаже |
|
| 4 | 3022-1712011 | Корпус | Нет в продаже |
|
| 5 | 36-1104788 | Прокладка | Нет в продаже |
|
| 6 | 2822-1702114 | Штуцер | Нет в продаже |
|
| 7 | РМ14 | Шайба | Нет в продаже |
|
| 8 | ДСДМ-М | Датчик сигнализатора давления | Нет в продаже |
|
| 9 | 009-012-19-1-4 | Кольцо | Нет в продаже |
|
| 10 | 1222-1702114 | Штуцер | Нет в продаже |
|
| 11 | 80-1701063 | Пробка | Нет в продаже |
|
| 12 | 2822-4607051 | Болт | Нет в продаже |
|
| 13 | 40-4607038-А | Шайба | Нет в продаже |
|
| 14 | 4637.01 | Пропорциональный клапан | Нет в продаже |
|
2822-1712010
1
3
4
5
6
7
7
8
9
10
11
11
11
12
13
14
Содержащиеся в справочниках-каталогах запасные части и детали носят исключительно информационный характер