Оригинальные каталоги
| № | Номер | Наименование | Цена | |
|---|---|---|---|---|
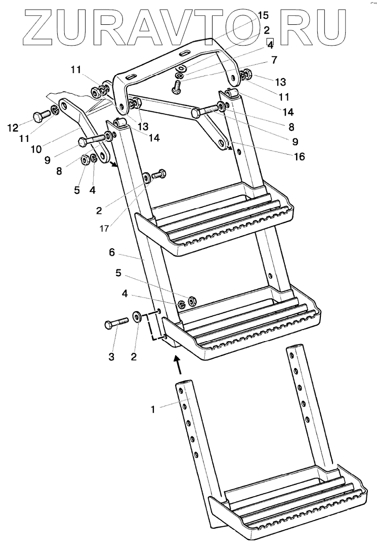
| 80-8405005-Б | 80-8405005-Б | Подножка левая | Нет в продаже |
|
| 80-8405005-Б-01 | 80-8405005-Б-01 | Подножка правая | Нет в продаже |
|
| 1 | 80-8405020-А2 | Подножка | Нет в продаже |
|
| 2 | С10.01.019 | Шайба | Нет в продаже |
|
| 3 | М10-6gх50.88.35.019 | Болт ГОСТ 7795-70 | Нет в продаже |
|
| 4 | 10.ОТ | Шайба | Нет в продаже |
|
| 5 | М10-6Н.6.019 | Гайка | Нет в продаже |
|
| 6 | 80-8405010-А3 | Подножка | Нет в продаже |
|
| 7 | М10-6gх25.88.35.019 | Болт | Нет в продаже |
|
| 8 | С12.01.019 | Шайба | Нет в продаже |
|
| 9 | М12-6gх65.88.35.019 | Болт | Нет в продаже |
|
| 10 | 80-8405031-Б | Кронштейн | Нет в продаже |
|
| 11 | 12.ОТ | Шайба | Нет в продаже |
|
| 12 | М12-6gх35.88.35.019 | Болт | Нет в продаже |
|
| 13 | М12-6Н.6.019 | Гайка | Нет в продаже |
|
| 14 | 923-6700111 | Втулка | Нет в продаже |
|
| 15 | 80-8405030-Б | Кронштейн | Нет в продаже |
|
| 15 | 80-8405030-Б-01 | Кронштейн (к правой подножке) | Нет в продаже |
|
| 16 | 80-8405032-Б | Кронштейн | Нет в продаже |
|
| 17 | М10-6gх30.88.35.019 | Болт ГОСТ 7796-70 | Нет в продаже |
|
1
2
2
2
3
4
4
4
5
5
6
7
8
8
9
9
10
11
11
11
12
13
13
14
14
15
15
16
17
Содержащиеся в справочниках-каталогах запасные части и детали носят исключительно информационный характер