Оригинальные каталоги
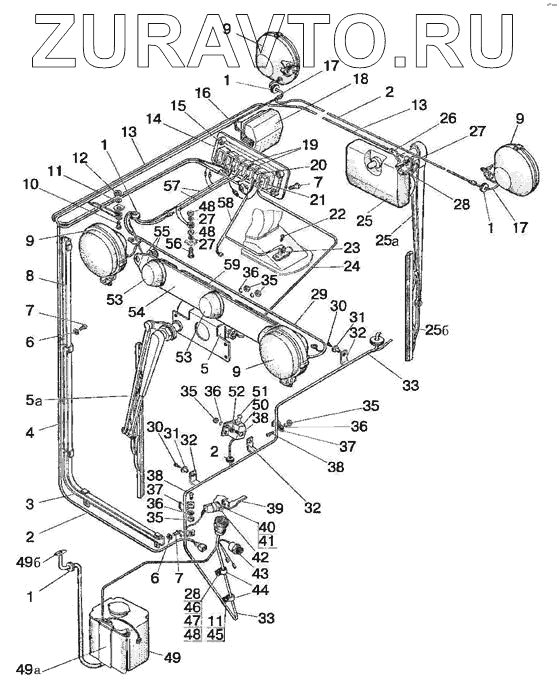
| № | Номер | Наименование | Цена | |
|---|---|---|---|---|
| 1 | 70-3723042-01 | Втулка | Нет в продаже |
|
| 2 | 80-3724351-П | Жгут | Нет в продаже |
|
| 3 | 80-3723015 | Желоб | Нет в продаже |
|
| 4 | 80-3723020 | Желоб | Нет в продаже |
|
| 5 | 5205.10 | Стеклоочиститель пантографный | Нет в продаже |
|
| 5а | 5205.25 | Щетка с рычагом | Нет в продаже |
|
| 6 | ШЧ6 | Шайба | Нет в продаже |
|
| 7 | ВМ6х12 | Винт | Нет в продаже |
|
| 8 | 80-3723010 | Желоб | Нет в продаже |
|
| 9 | 8724.31.06 | Фара | Нет в продаже |
|
| 10 | М8х14 | Болт | Нет в продаже |
|
| 11 | ШП8 | Шайба | Нет в продаже |
|
| 12 | М8 | Гайка | Нет в продаже |
|
| 13 | 80В-3724310-14 | Провод | Нет в продаже |
|
| 14 | 80-3801342 | Щиток | Нет в продаже |
|
| 15 | 3710.40 | Выключатель знака автопоезда | Нет в продаже |
|
| 16 | 80-3801327 | Заглушка | Нет в продаже |
|
| 17 | 80-3724035-Б | Провод | Нет в продаже |
|
| 18 | 3714.10 | Плафон освещения кабины | Нет в продаже |
|
| 19 | 3710.30 | Выключатель фар рабочих | Нет в продаже |
|
| 20 | 3709.15 | Переключатель вентилятора | Нет в продаже |
|
| 21 | 3709.25 | Переключатель стеклоочистителя | Нет в продаже |
|
| 22 | 4x10 | Винт | Нет в продаже |
|
| 23 | 11.3729 | Дополнительное сопротивление | Нет в продаже |
|
| 24 | 80В-3724010 | Жгут | Нет в продаже |
|
| 25 | 5205.20 | Стеклоочиститель | Нет в продаже |
|
| 25а | 5205.30 | Рычаг стеклоочистителя | Нет в продаже |
|
| 256 | 5205.35 | Щетка стеклоочистителя | Нет в продаже |
|
| 26 | 80-5205031 | Кронштейн | Нет в продаже |
|
| 27 | ШП6 | Шайба | Нет в продаже |
|
| 28 | М6х16 | Винт | Нет в продаже |
|
| 29 | 80-3724232-Б | Жгут | Нет в продаже |
|
| 30 | 2-4x16 | Шуруп | Нет в продаже |
|
| 31 | А37.10.031 | Бонка | Нет в продаже |
|
| 32 | 85-3723041-01 | Скоба | Нет в продаже |
|
| 33 | 80-3724300-П | Жгут | Нет в продаже |
|
| 35 | М5 | Гайка | Нет в продаже |
|
| 36 | ШП5 | Шайба | Нет в продаже |
|
| 37 | 80-3723038 | Скоба | Нет в продаже |
|
| 38 | ВМ5х16 | Винт | Нет в продаже |
|
| 39 | 85-3710032 | Рычаг | Нет в продаже |
|
| 40 | 85-3710025 | Гайка | Нет в продаже |
|
| 41 | 14Л | Шайба | Нет в продаже |
|
| 42 | 3720.10 | Выключатель сигнала торможения | Нет в продаже |
|
| 43 | 3829.15 | Датчик аварийного давления Масла (ДАДМ-03) | Нет в продаже |
|
| 44 | 1321-8700029 | Хомут | Нет в продаже |
|
| 45 | ВМ8х25 | Винт | Нет в продаже |
|
| 46 | ВМ6х25 | Винт | Нет в продаже |
|
| 47 | ШЧ8 | Шайба | Нет в продаже |
|
| 48 | М6 | Гайка | Нет в продаже |
|
| 49 | 5208.25 | Стеклоомыватель электрический | Нет в продаже |
|
| 49а | 5208.20 | Кронштейн | Нет в продаже |
|
| 496 | 5208.10 | Жиклер | Нет в продаже |
|
| 50 | 80-3710012 | Кронштейн | Нет в продаже |
|
| 51 | 3710.60 | Выключатель лампы ручного тормоза | Нет в продаже |
|
| 52 | ШЧ5 | Шайба | Нет в продаже |
|
| 53 | 3738.10 | Фонарь автопоезда | Нет в продаже |
|
| 54 | 80-3738001 | Кронштейн | Нет в продаже |
|
| 55 | 80-6708904 | Прокладка | Нет в продаже |
|
| 56 | М6х20 | Винт | Нет в продаже |
|
| 57 | 80-3724231-Б | Жгут | Нет в продаже |
|
| 58 | 80-3724353-Г | Жгут | Нет в продаже |
|
| 59 | 80-3724233-Б | Жгут | Нет в продаже |
|
1
1
1
1
2
2
2
3
4
5
5а
6
6
7
7
7
8
9
9
9
9
10
11
11
12
13
13
14
15
16
17
17
18
19
20
21
22
23
24
25
25а
256
26
27
27
27
28
28
29
30
30
31
31
32
32
32
33
33
35
35
35
35
36
36
36
36
37
37
38
38
38
39
40
41
42
43
44
45
46
47
48
48
48
49
49а
496
50
51
52
53
53
54
55
56
57
58
59
Содержащиеся в справочниках-каталогах запасные части и детали носят исключительно информационный характер