Оригинальные каталоги
| № | Номер | Наименование | Цена | |
|---|---|---|---|---|
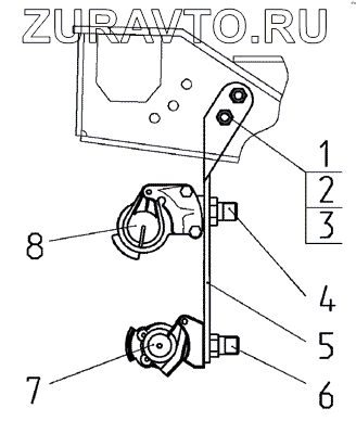
| 1221М-3521705 | 1221М-3521705 | Головка соединительная | Нет в продаже |
|
| 1 | M10-6gx25.88.35.019 | Болт | Нет в продаже |
|
| 2 | М10-6Н.6.019 | Гайка | Нет в продаже |
|
| 3 | 10ОТ | Шайба ОСТ 37.001.115-75 | Нет в продаже |
|
| 4 | 1522-3521012 | Штуцер | Нет в продаже |
|
| 5 | 1221М-3521711 | Кронштейн | Нет в продаже |
|
| 6 | 1522-3521513 | Штуцер | Нет в продаже |
|
| 7 | 64226-3521110 | Головка соединительная | Нет в продаже |
|
| 8 | А29.76.000 | Головка соединительная в сборе | Нет в продаже |
|
| 8 | 80-3521010 | Головка соединительная | Нет в продаже |
|
1221М-3521705
1
2
3
4
5
6
7
8
8
Содержащиеся в справочниках-каталогах запасные части и детали носят исключительно информационный характер