Назад

Оригинальные каталоги

zoom-in zoom-out enlarge shrink circle-right circle-left file-text2 info cart
Номер Наименование Цена
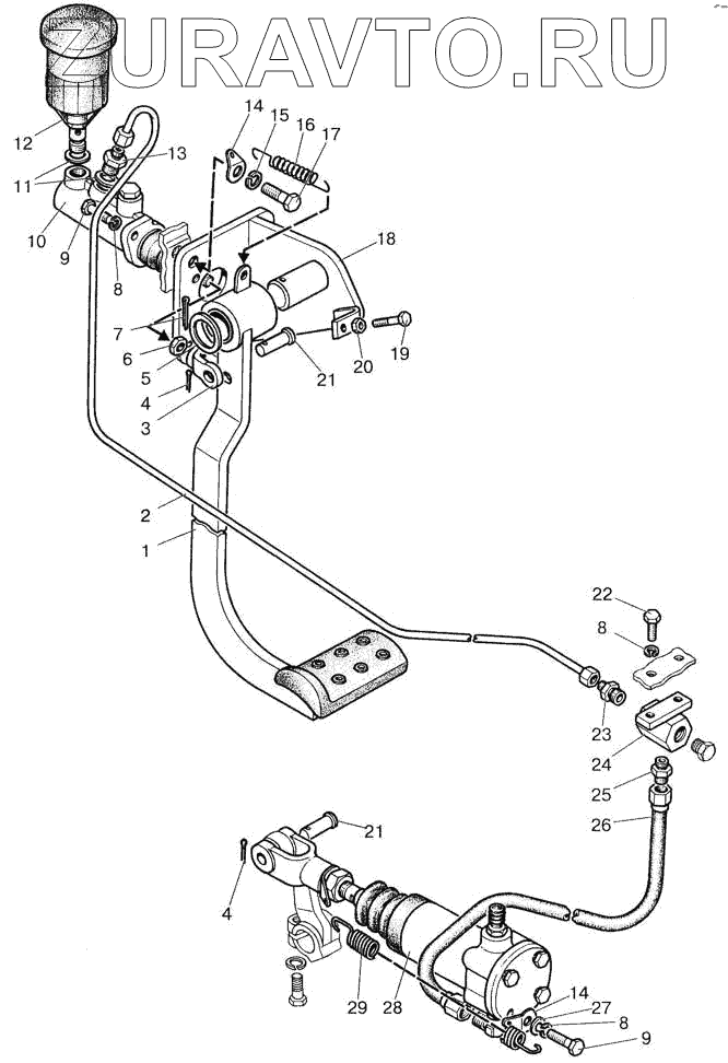
1 822-1602020 Педаль Нет в продаже
2 922-1602180 Маслопровод Нет в продаже
3 822-3502203 Вилка Нет в продаже
4 3,2х18 Шплинт Нет в продаже
5 50-3406037 Шайба упорная Нет в продаже
6 М10 Гайка Нет в продаже
7 4х36 Шплинт Нет в продаже
8 ШП8 Шайба Нет в продаже
9 М8х35 Болт Нет в продаже
10 А73067386 Цилиндр «Meritor» Нет в продаже
11 Д18-055А Кольцо Нет в продаже
12 822-1602120 Бачок Нет в продаже
13 822-3503083 Штуцер Нет в продаже
14 80-1602116 Ушко Нет в продаже
15 ШП10 Шайба Нет в продаже
16 70-4616033 Пружина Нет в продаже
17 М10х25 Болт Нет в продаже
18 822-1602030 Кронштейн Нет в продаже
19 М8х40 Болт Нет в продаже
20 М8 Гайка Нет в продаже
21 12х32 Палец Нет в продаже
22 М8х25 Болт Нет в продаже
23 822-3503071 Штуцер Нет в продаже
24 922-1602110 Угольник Нет в продаже
25 822-3503155 Штуцер Нет в продаже
26 2022-1602190 Рукав гибкий Нет в продаже
27 ШЧ8 Шайба Нет в продаже
28 822-1602550 Цилиндр рабочий Нет в продаже
29 70-4803019 Пружина Нет в продаже
1
2
3
4
4
5
6
7
8
8
8
9
9
10
11
12
13
14
14
15
16
17
18
19
20
21
21
22
23
24
25
26
27
28
29
100%
Содержащиеся в справочниках-каталогах запасные части и детали носят исключительно информационный характер