Оригинальные каталоги
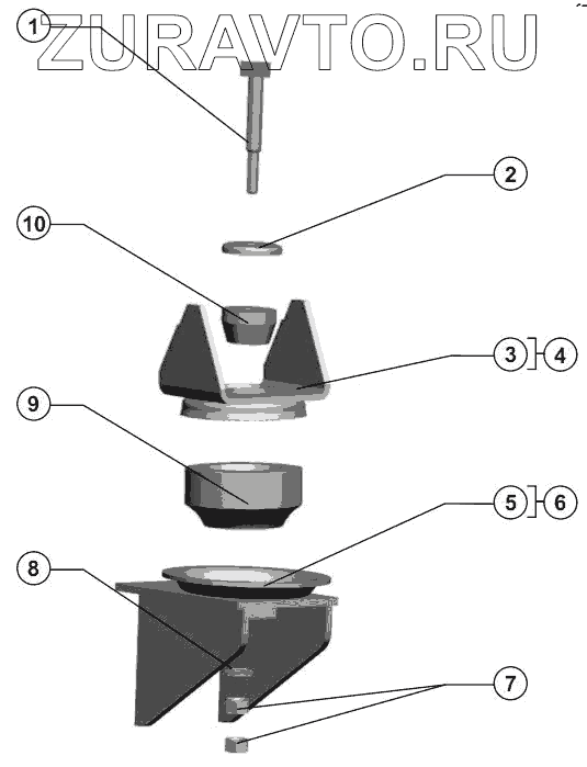
| № | Номер | Наименование | Цена | |
|---|---|---|---|---|
| 1 | РСМ-10.04.10.601Б | Болт | Нет в продаже |
|
| 2 | РСМ-10.04.10.412 | Шайба | Нет в продаже |
|
| 3 | 101.04.02.000 | Каркас | Нет в продаже |
|
| 4 | 101.04.00.000 | Рабочее место | Нет в продаже |
|
| 5 | 101.07.00.600 | Площадка входа | Нет в продаже |
|
| 6 | 101.08.00.000 | Секция с площадкой | Нет в продаже |
|
| 7 | Гайка М12-6H.6.019 ГОСТ 5915-70 | Гайка М12-6H.6.019 ГОСТ 5915-70 | Нет в продаже |
|
| 8 | Шайба С.12х2.01.019 ГОСТ 11371-78 | Шайба С.12х2.01.019 ГОСТ 11371-78 | Нет в продаже |
|
| 9 | РСМ-10.04.10.015 | Амортизатор | Нет в продаже |
|
| 10 | РСМ-10.04.10.016 | Буфер | Нет в продаже |
|
1
2
3
4
5
6
7
8
9
10
Содержащиеся в справочниках-каталогах запасные части и детали носят исключительно информационный характер