Оригинальные каталоги
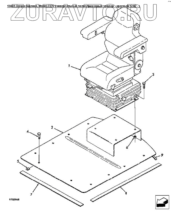
| № | Номер | Наименование | Цена | |
|---|---|---|---|---|
| 1 | 86000266 | Сидение в сборе L4WD | Нет в продаже |
|
| 2 | 86018498 | Настил пола | Нет в продаже |
|
| 3 | 274249 | Болт шестигранный USR M10x20 PL | Нет в продаже |
|
| 4 | 9840672 | Болт M10x1.50x30 | Нет в продаже |
|
| 5 | 104409 | Гайка M10 x 1.5 | Нет в продаже |
|
| 6 | 43435 | Гайка M10 Usr Pl | Нет в продаже |
|
| 7 | 86011999 | Уплотнительная прокладка передней части настила по | Нет в продаже |
|
| 8 | 86012471 | Уплотнительная прокладка боковой части пола | Нет в продаже |
|
| 9 | 86012472 | Уплотнительная прокладка задней части настила пола | Нет в продаже |
|
1
2
3
4
5
6
7
8
9
Содержащиеся в справочниках-каталогах запасные части и детали носят исключительно информационный характер