Оригинальные каталоги
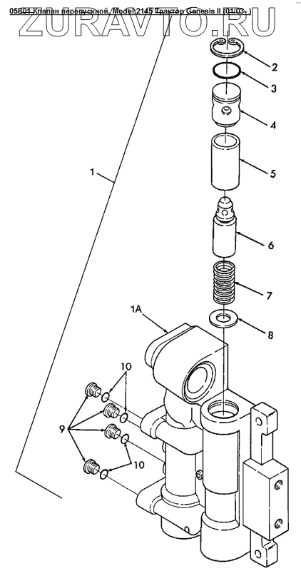
| № | Номер | Наименование | Цена | |
|---|---|---|---|---|
| 1 | 86011393 | Перепускной клапан охладителя | Нет в продаже |
|
| 1A | NS | Левая боковина в сборе | Нет в продаже |
|
| 2 | 129738 | Кольцо стопорное 1.30 Dia | Нет в продаже |
|
| 3 | 9672549 | Кольцо 120 | Нет в продаже |
|
| 4 | NS | Левая боковина в сборе | Нет в продаже |
|
| 5 | NS | Левая боковина в сборе | Нет в продаже |
|
| 6 | NS | Левая боковина в сборе | Нет в продаже |
|
| 7 | NS | Левая боковина в сборе | Нет в продаже |
|
| 8 | 87363 | Шайба | Нет в продаже |
|
| 9 | 278548 | Пробка 7/16 - 20 orb | Нет в продаже |
|
| 10 | 165202 | Кольцо уплотнительное вн. O 0.351xтолщина 0.072 | Нет в продаже |
|
1
1A
2
3
4
5
6
7
8
9
10
10
Содержащиеся в справочниках-каталогах запасные части и детали носят исключительно информационный характер