Оригинальные каталоги
| № | Номер | Наименование | Цена | |
|---|---|---|---|---|
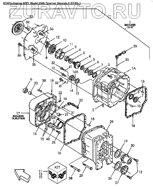
| 1 | 86500173 | 16КПП 30kph | Нет в продаже |
|
| 1 | 86500174 | КПП 40kph | Нет в продаже |
|
| 1 | 86508998 | 16КПП 9 L/CRP 30KPH | Нет в продаже |
|
| 1 | 86508999 | КПП в сборе 18 скоростей | Нет в продаже |
|
| 1A | 86500866 | Корпус | Нет в продаже |
|
| 2 | 80744 | Фиксатор | Нет в продаже |
|
| 3 | 86500892 | Стопорное кольцо | Нет в продаже |
|
| 4 | 86500839 | Шестерня первичного вала, 42 зуба | Нет в продаже |
|
| 5 | 86500813 | Обойма подшипника внутренняя | Нет в продаже |
|
| 5 | 86513688 | Обойма подшипника внутренняя диам.внутр.50 толщина 28мм | Нет в продаже |
|
| 6 | 86500815 | Обойма подшипника наружная | Нет в продаже |
|
| 6 | 86513689 | Обойма подшипника наружная диам.наруж.90 толщина 28мм | Нет в продаже |
|
| 7 | 86500891 | Упор подшипника | Нет в продаже |
|
| 8 | 86500761 | Уплотнение масляное внут. O2,57 х внеш. O1,88 х 0, | Нет в продаже |
|
| 9 | 86500797 | Кольцо уплотнительное ARP258 | Нет в продаже |
|
| 9 | FKF37030258 | Уплотнительное кольцо | Нет в продаже |
|
| 10 | 86500864 | Корпус подшипника | Нет в продаже |
|
| 11 | 86500873 | Набор прокладок | Нет в продаже |
|
| 12 | 86505975 | Болт | Нет в продаже |
|
| 13 | 86500867 | Набор прокладок | Нет в продаже |
|
| 14 | 86500865 | Корпус подшипника | Нет в продаже |
|
| 14A | 86509113 | Кольцо уплотнительное | Нет в продаже |
|
| 15 | 86505157 | Штифт 1/2 x 1.00dm | Нет в продаже |
|
| 16 | 86500752 | Уплотнение центрального корпуса трансмиссии | Нет в продаже |
|
| 17 | 86507380 | Корпус | Нет в продаже |
|
| 17 | 86511889 | Корпус | Нет в продаже |
|
| 18 | 86500821 | Шарик | Нет в продаже |
|
| 18 | FKF7400018D | Шарик | Нет в продаже |
|
| 19 | 86500883 | Набор прокладок трансмиссии | Нет в продаже |
|
| 20 | 86500734 | Втулка 1.50 х 1.629dm, КПП | Нет в продаже |
|
| 20 | FK4008023 | Втулка 1-1/2 x 1.629dm | Нет в продаже |
|
| 21 | 86500735 | Втулка 1.50 х 1.35dm, КПП | Нет в продаже |
|
| 21 | FK4008024 | Втулка 1-1/2 x 1.35dm | Нет в продаже |
|
| 22 | 86500762 | Перепускной клапан системы смазывания КПП | Нет в продаже |
|
| 23 | 86027316 | Датчик скорости | Нет в продаже |
|
| 23 | 86030257 | Датчик скорости магнитный | Нет в продаже |
|
| 23 | 86502050 | Датчик скорости | Нет в продаже |
|
| 24 | 86500753 | Стакан | Нет в продаже |
|
| 25 | 280643 | Болт 3/8dm-16x5/8dm | Нет в продаже |
|
| 26 | 86500872 | Корпус | Нет в продаже |
|
| 26 | 86507381 | Корпус | Нет в продаже |
|
| 26 | 86509067 | Корпус | Нет в продаже |
|
| 27 | 86500877 | Корпус подшипника | Нет в продаже |
|
| 27 | 86509068 | Корпус подшипника | Нет в продаже |
|
| 27 | 86517218 | Корпус подшипника | Нет в продаже |
|
| 28 | 86500878 | Прокладка | Нет в продаже |
|
| 28-a | 86500878 | Прокладка | Нет в продаже |
|
| 28-b | 86500878 | Прокладка | Нет в продаже |
|
| 28-c | 86500878 | Прокладка | Нет в продаже |
|
| 28-d | 86500878 | Прокладка | Нет в продаже |
|
| 28-e | 86500878 | Прокладка | Нет в продаже |
|
| 29 | 86518627 | Болт G8p 62 x 8.50 | Нет в продаже |
|
| 29 | FKF10070136 | Болт | Нет в продаже |
|
| 30 | 86500882 | Корпус подшипника | Нет в продаже |
|
| 31 | 128825 | Кольцо уплотнительное 0.644 IDX0.087 THK BUNA | Нет в продаже |
|
| 32 | 278548 | Пробка 7/16 - 20 orb | Нет в продаже |
|
| 33 | 9825201 | Амортизатор в сборе | Нет в продаже |
|
| 34 | 88434 | Болт G5 3/8dm-16x3/4dm | Нет в продаже |
|
| 35 | 43138 | Болт M10x1.5x20 Cl 8.8 | Нет в продаже |
|
| 36 | 120091 | Болт M16x2x60 Cl-8.8 | Нет в продаже |
|
| 37 | 374890 | Болт M20x2.5x60 CL-8.8 | Нет в продаже |
|
| 37 | 80374890 | Болт M20 Cl 8.8 | Нет в продаже |
|
| 38 | 86518628 | Болт G8 5/8dm-11x9-1/2dm | Нет в продаже |
|
| 39 | 86509065 | Стержень | Нет в продаже |
|
| 40 | 87016 | Шайба Sae 0.380 Pl, сталь | Нет в продаже |
|
| 41 | 129270 | Кольцо уплотнительное 0.414 IDX0.072 THK BUNA | Нет в продаже |
|
1
1
1
1
1
1
1
1A
2
3
3
4
5
5
5
5
5
6
6
6
6
6
6
6
7
7
8
9
9
9
10
11
11
12
12
12
13
13
14
14A
15
15
15
15
16
16
17
17
17
18
18
18
18
18
19
19
20
20
20
21
21
21
22
23
23
23
23
23
23
24
25
26
26
26
26
26
27
27
27
27
27
28
29
29
29
30
31
31
32
32
33
34
35
36
36
37
37
37
38
39
40
41
41
Содержащиеся в справочниках-каталогах запасные части и детали носят исключительно информационный характер