Оригинальные каталоги
| № | Номер | Наименование | Цена | |
|---|---|---|---|---|
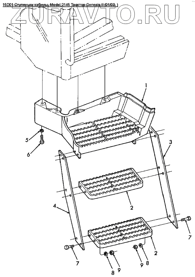
| 1 | 86028068 | Ступенька правая верхняя BVI | Нет в продаже |
|
| 1 | 86028069 | Ступенька левая верхняя BVI | Нет в продаже |
|
| 2 | 9823801 | Ступенька нижняя | Нет в продаже |
|
| 3 | 86502132 | Боковая задняя пластина крепления подножки | Нет в продаже |
|
| 4 | 86502131 | Боковая передняя пластина крепления подножки | Нет в продаже |
|
| 5 | 394630 | Шайба диам.внутр.12.00 наруж.28.00 толщина 4.00мм, сталь | Нет в продаже |
|
| 6 | 86500278 | Болт М12х1.75х45 | Нет в продаже |
|
| 7 | 9706704 | Болт M10x1.5x35 Cl 8.8 | Нет в продаже |
|
| 8 | 140045 | Шайба стопорная BV M10 PL | Нет в продаже |
|
| 9 | 100016 | Гайка M10 x 1.5 | Нет в продаже |
|
1
1
1
2
2
3
4
5
6
7
7
8
8
9
9
Содержащиеся в справочниках-каталогах запасные части и детали носят исключительно информационный характер