Оригинальные каталоги
| № | Номер | Наименование | Цена | |
|---|---|---|---|---|
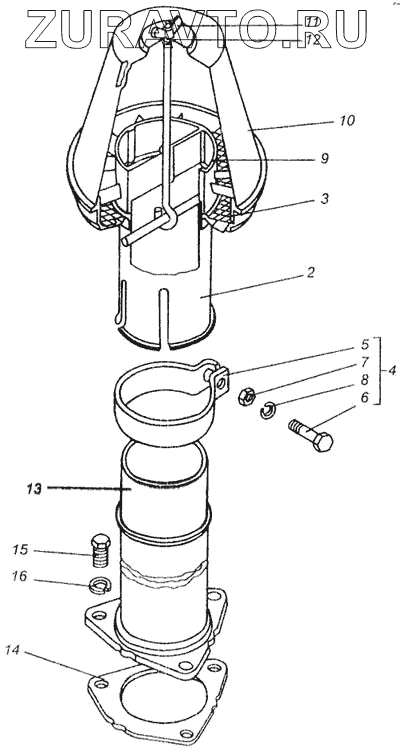
| 1 | 14Н-12С3 | Моноциклон | Нет в продаже |
|
| 2 | 14Н-12С6 | Патрубок | Нет в продаже |
|
| 3 | 14К-12С7 | Сетка | Нет в продаже |
|
| 4 | 14Н-12С29 | Хомут | Нет в продаже |
|
| 5 | 14Н-1271 | Хомут | Нет в продаже |
|
| 6 | М10-6gх35.56.016 | Болт ГОСТ 7796-70 | Нет в продаже |
|
| 7 | М10-6Н.6.0.16 | Гайка ГОСТ 2524-70 | Нет в продаже |
|
| 8 | 10.65Г.05 | Шайба ГОСТ 6402-70 | Нет в продаже |
|
| 9 | 14Н-1202 | Завихритель | Нет в продаже |
|
| 10 | 14Н-1204 | Колпак | Нет в продаже |
|
| 11 | 14Н-1266 | Гайка М6-6Н.016 ГОСТ 3032-76 | Нет в продаже |
|
| 12 | 6х1,2.04.05 | Шайба ГОСТ 11371-78 | Нет в продаже |
|
| 13 | 14Н-12С4-1 | Труба | Нет в продаже |
|
| 14 | 18К-1287 | Прокладка | Нет в продаже |
|
| 15 | М10-6gх25.56.016 | Болт ГОСТ 7796-70 | Нет в продаже |
|
| 16 | 10.65Г05 | Шайба ГОСТ6402-70 | Нет в продаже |
|
2
3
4
5
6
7
8
9
10
11
12
13
14
15
16
Содержащиеся в справочниках-каталогах запасные части и детали носят исключительно информационный характер