Оригинальные каталоги
| № | Номер | Наименование | Цена | |
|---|---|---|---|---|
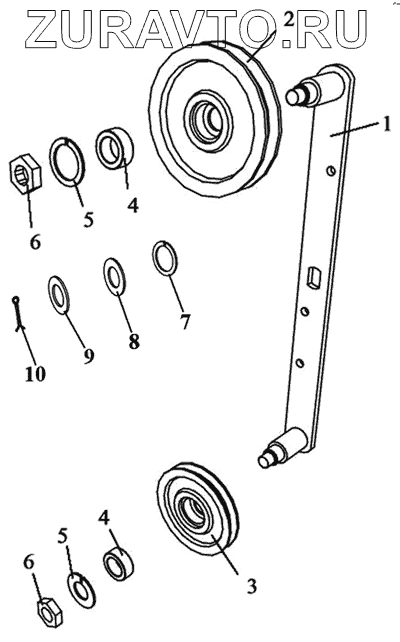
| 1 | ЗВТ 93.010 | Кронштейн | Нет в продаже |
|
| 2 | СММ 08.130 | Ролик натяжной | Нет в продаже |
|
| 3 | МСУ 08.200 (СММ 33.101, Н206.21 000) | Ролик натяжной | Нет в продаже |
|
| 4 | Подшипник 180204 ГОСТ 8882-75 | Подшипник 180204 ГОСТ 8882-75 | Нет в продаже |
|
| 5 | Кольцо 2C 47 ГОСТ 13941-68 | Кольцо 2C 47 ГОСТ 13941-68 | Нет в продаже |
|
| 6 | Гайка М12-6Н.6.019 ГОСТ 5915-70 | Гайка М12-6Н.6.019 ГОСТ 5915-70 | Нет в продаже |
|
| 7 | Шайба 12.65Г.05 ГОСТ 6402-70 | Шайба 12.65Г.05 ГОСТ 6402-70 | Нет в продаже |
|
| 8 | Шайба С12.02.Ст3.019 ГОСТ 11371-78 | Шайба С12.02.Ст3.019 ГОСТ 11371-78 | Нет в продаже |
|
| 9 | Шайба С20.02.Ст3.019 ГОСТ 11371-78 | Шайба С20.02.Ст3.019 ГОСТ 11371-78 | Нет в продаже |
|
| 10 | Шплинт 4х28.019 ГОСТ 397-79 | Шплинт 4х28.019 ГОСТ 397-79 | Нет в продаже |
|
1
2
3
4
4
5
5
6
6
7
8
9
10
Содержащиеся в справочниках-каталогах запасные части и детали носят исключительно информационный характер