Оригинальные каталоги
| № | Номер | Наименование | Цена | |
|---|---|---|---|---|
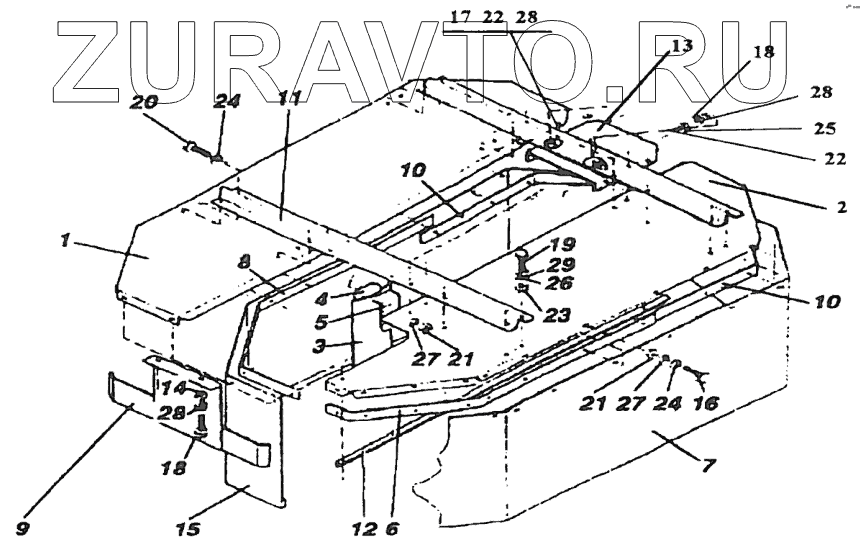
| Кожух | Кожух | Кожух, комплект | Нет в продаже |
|
| 1 | 8245-036-030-216 | Передний кожух | Нет в продаже |
|
| 2 | 8245-036-030-229 | Задний кожух | Нет в продаже |
|
| 3 | 8245-036-030-040 | Стойка | Нет в продаже |
|
| 4 | 8245-036-030-053 | Дистанционная шайба | Нет в продаже |
|
| 5 | 8245-036-030-066 | Шайба | Нет в продаже |
|
| 6 | 8245-036-030-068 | Задняя левая дуга | Нет в продаже |
|
| 7 | 8245-036-030-196 | Задний фартук | Нет в продаже |
|
| 8 | 8245-036-030-285 | Передняя левая дуга | Нет в продаже |
|
| 9 | 8245-036-030-101 | Кожух, комплект. | Нет в продаже |
|
| 10 | 8245-036-030-272 | Правая дуга | Нет в продаже |
|
| 11 | 8245-036-030-244 | Рейка | Нет в продаже |
|
| 12 | 8245-036-030-257 | Угольник | Нет в продаже |
|
| 13 | 8245-036-030-053 | Средний кожух | Нет в продаже |
|
| 14 | 8245-036-030-170 | Круглая шайба | Нет в продаже |
|
| 15 | 8245-036-030-183 | Передний фартук | Нет в продаже |
|
| 16 | PN-85/M-82105 | Винт | Нет в продаже |
|
| 17 | PN-85/M-82105 | Винт | Нет в продаже |
|
| 18 | PN-85/M-82105 | Винт | Нет в продаже |
|
| 19 | PN-85/M-82105 | Винт | Нет в продаже |
|
| 20 | PN-85/M-82105 | Винт | Нет в продаже |
|
| 21 | PN-86/M-82144 | Гайка | Нет в продаже |
|
| 22 | PN-86/M-82144 | Гайка | Нет в продаже |
|
| 23 | PN-86/M-82144 | Гайка | Нет в продаже |
|
| 24 | PN-59/M-82030 | Круглая шайба | Нет в продаже |
|
| 25 | PN-59/M-82030 | Круглая шайба | Нет в продаже |
|
| 26 | PN-59/M-82030 | Круглая шайба | Нет в продаже |
|
| 27 | PN-77/M-82008 | Пружинная шайба | Нет в продаже |
|
| 28 | PN-77/M-82008 | Пружинная шайба | Нет в продаже |
|
| 29 | PN-77/M-82008 | Пружинная шайба | Нет в продаже |
|
1
2
3
4
5
6
7
8
9
10
10
11
12
13
14
15
16
17
18
18
19
20
21
21
22
22
23
24
24
25
26
27
27
28
28
28
29
Содержащиеся в справочниках-каталогах запасные части и детали носят исключительно информационный характер