Оригинальные каталоги
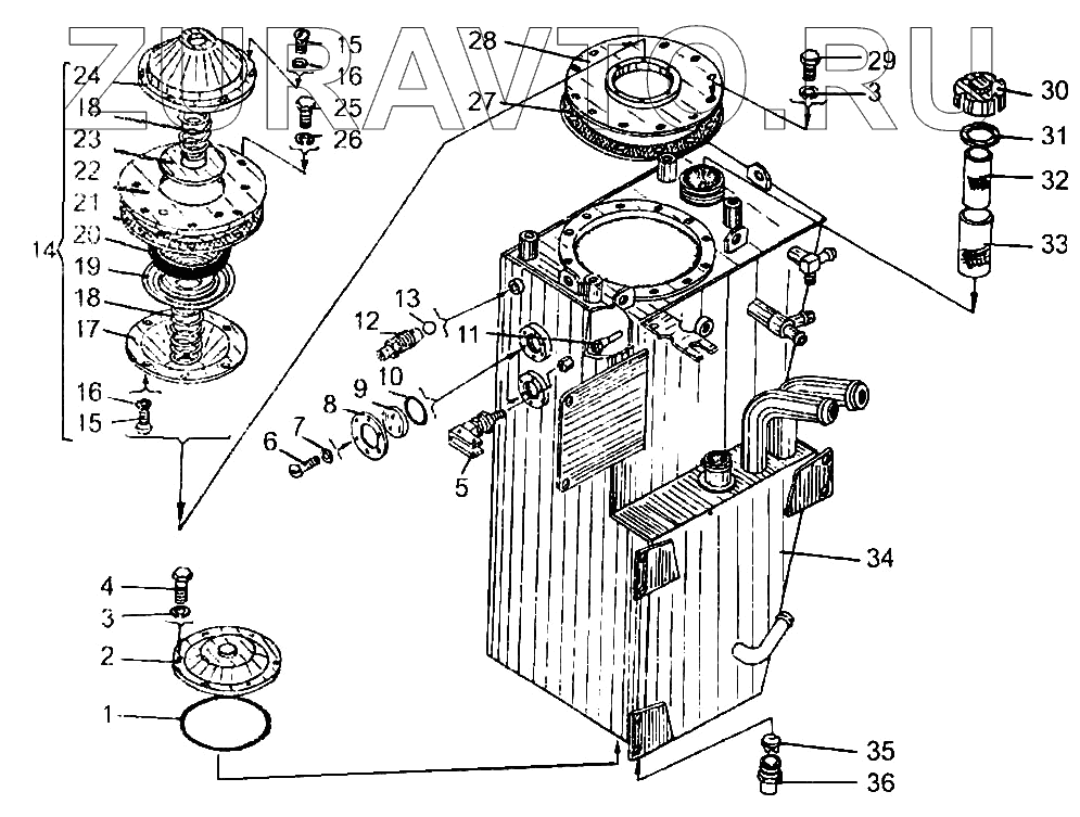
| № | Номер | Наименование | Цена | |
|---|---|---|---|---|
| 1 | 183-190-36 9833 | Кольцо | Нет в продаже |
|
| 2 | ТО-18А.26.01300 | Крышка | Нет в продаже |
|
| 3 | 10.6402 | Шайба | Нет в продаже |
|
| 4 | М10х25.7796 | Болт | Нет в продаже |
|
| 5 | 94910.46000 | Индикатор загрязнения | Нет в продаже |
|
| 6 | ВМ5х 16.17473 | Винт | Нет в продаже |
|
| 7 | 5.6402 | Шайба | Нет в продаже |
|
| 8 | ТО-18А.26.01.003 | Кольцо | Нет в продаже |
|
| 9 | ТО-18А. 26.01 004 | Маслоуказатель | Нет в продаже |
|
| 10 | 032-040-46.3833 | Кольцо | Нет в продаже |
|
| 11 | ТО-18А.26.01.500 | Трубопровод | Нет в продаже |
|
| 12 | ЛО-16 70.00 011 | Штуцер | Нет в продаже |
|
| 13 | 10-100.3722 | Шарик | Нет в продаже |
|
| 14 | У22-237-45.90.100 | Регулятор давления | Нет в продаже |
|
| 15 | ВМ6х12.17473 | Винт | Нет в продаже |
|
| 16 | 6.6402 | Шайба | Нет в продаже |
|
| 17 | 322-237-45 90.111 | Крышка | Нет в продаже |
|
| 18 | 322-237-45.90.104 | Пружина | Нет в продаже |
|
| 19 | У22-237-45.90.103 | Клапан противовакуумный | Нет в продаже |
|
| 20 | 2-80х60-8.8752 | Манжета | Нет в продаже |
|
| 21 | ТО-28.26.01.004 | Прокладка | Нет в продаже |
|
| 22 | У22-237-45.90.101 | Корпус | Нет в продаже |
|
| 23 | У22-237-45.90 102 | Клапан | Нет в продаже |
|
| 24 | У22-237-45.90.110 | Крышка | Нет в продаже |
|
| 25 | М6х14.7798 | Болт | Нет в продаже |
|
| 26 | 6.6402 | Шайба | Нет в продаже |
|
| 27 | ТО-18А.26.01.002 | Прокладка | Нет в продаже |
|
| 28 | ТО-28.26.01.450 | Крышка | Нет в продаже |
|
| 29 | М10х20.7796 | Болт | Нет в продаже |
|
| 30 | ТО-28.26.01 005 | Пробка | Нет в продаже |
|
| 31 | ТО-18.06.01.109 | Прокладка | Нет в продаже |
|
| 32 | ТО-18.06.01.130 | Фильтр | Нет в продаже |
|
| 33 | ТО-18.06.01.140 | Фильтр | Нет в продаже |
|
| 34 | ТО-28. 30.01.100 | Корпус бака | Нет в продаже |
|
| 35 | ТО-18.06.01.111 | Конус | Нет в продаже |
|
| 36 | ТО-18.06.01.150 | Пробка | Нет в продаже |
|
1
2
3
3
4
5
6
7
8
9
10
11
12
13
14
15
15
16
16
17
18
18
19
20
21
22
23
24
25
26
27
28
29
30
31
32
33
34
35
36
Содержащиеся в справочниках-каталогах запасные части и детали носят исключительно информационный характер