Оригинальные каталоги
| № | Номер | Наименование | Цена | |
|---|---|---|---|---|
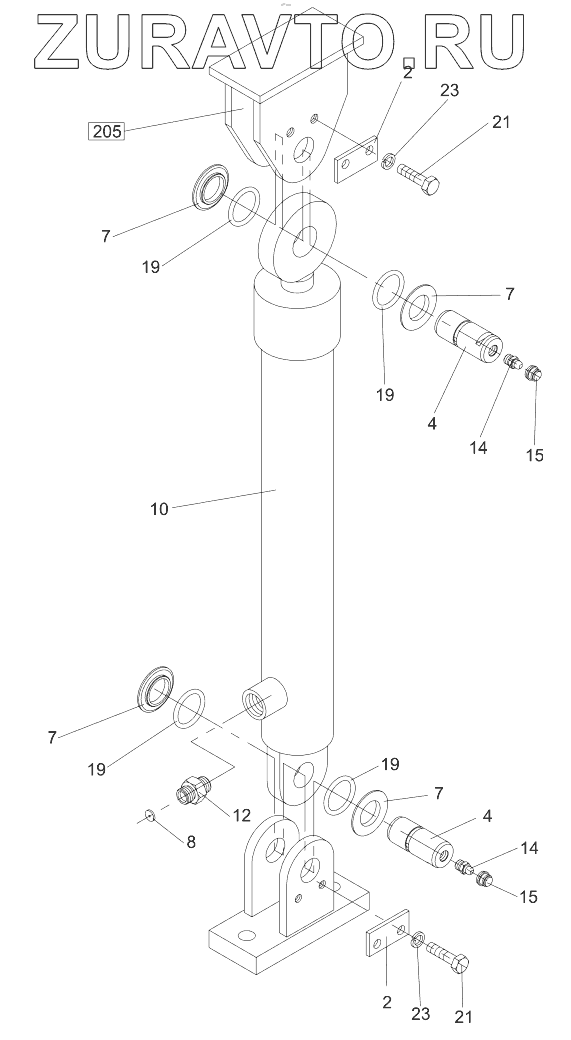
| 4-209500 | 4-209500 | Hydraulic cylinder | Нет в продаже |
|
| 2 | 4-433695 | Plate | Нет в продаже |
|
| 4 | 4-433692 | Bolt | Нет в продаже |
|
| 4 | 4-433692 | Bolt | Нет в продаже |
|
| 7 | 4-433691 | Insert | Нет в продаже |
|
| 7 | 4-433691 | Insert | Нет в продаже |
|
| 8 | 4-440553 | Diaphragm | Нет в продаже |
|
| 10 | 4-S5451180155 | Hydraulic cylinder | Нет в продаже |
|
| 12 | 4-5160650127 | Connector | Нет в продаже |
|
| 14 | 4-5536210006 | Greasing nipple | Нет в продаже |
|
| 15 | 4-5358030042 | Plug | Нет в продаже |
|
| 19 | 4-6160140046 | O-ring | Нет в продаже |
|
| 21 | 4-3002508012 | Hexagon head screw | Нет в продаже |
|
| 23 | 4-3900017080 | Spring washer | Нет в продаже |
|
2
2
4
4
4
4
7
7
7
7
7
7
7
7
8
10
12
14
14
15
15
19
19
19
19
21
21
23
23
Содержащиеся в справочниках-каталогах запасные части и детали носят исключительно информационный характер