Оригинальные каталоги
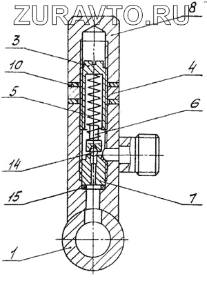
| № | Номер | Наименование | Цена | |
|---|---|---|---|---|
| 1 | ЛТ-72Б.14.710 | Корпус | Нет в продаже |
|
| 3 | ЛТ-72Б.14.701 | Винт регулировочный | Нет в продаже |
|
| 4 | ЛТ-72Б.14.702 | Гайка стопорная | Нет в продаже |
|
| 5 | ЛТ-72Б.14.703 | Пружина предохранительного клапана | Нет в продаже |
|
| 6 | ЛТ-72Б.14.704 | Направляющая предохранительного клапана | Нет в продаже |
|
| 7 | ЛТ-72Б.14.705 | Гнездо предохранительного клапана | Нет в продаже |
|
| 8 | ЛТ-72Б.14.706 | Колпачок | Нет в продаже |
|
| 10 | ЛТ-72Б.14.707 | Шайба | Нет в продаже |
|
| 14 | Шарик 50-IV5, 556 ммр {ГОСТ 3722-81} | Шарик КЗ1.750-60 | Нет в продаже |
|
| 15 | Кольцо 011-014-19-2-3 {ГОСТ 18829-73} | Кольцо 115-125-58-2-3 | Нет в продаже |
|
| 28 | ЛТ-72.17А.011-01 | Панель | Нет в продаже |
|
1
3
4
5
6
7
8
10
14
15
Содержащиеся в справочниках-каталогах запасные части и детали носят исключительно информационный характер