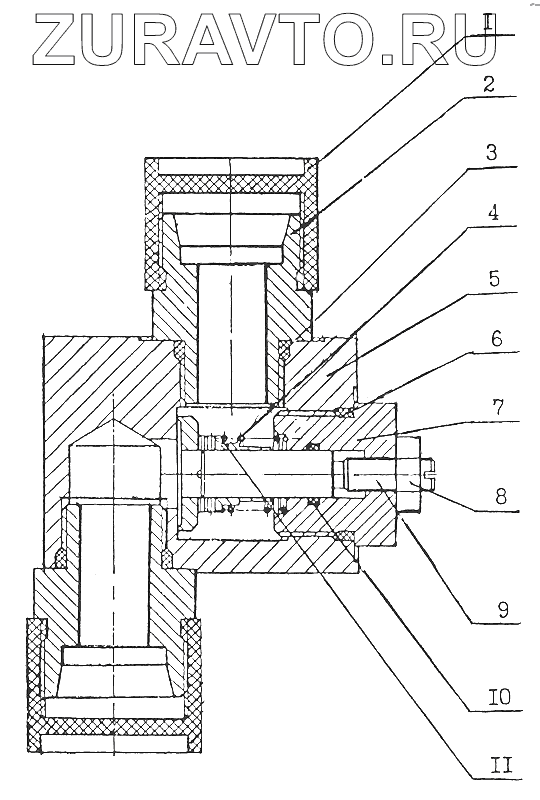
Оригинальные каталоги
| № | Номер | Наименование | Цена | |
|---|---|---|---|---|
| 40.1906.190 | 40.1906.190 | Дроссель | Нет в продаже |
|
| 1 | 22241.42 | Крышка | Нет в продаже |
|
| 2 | 10.1700.004 | Штуцер | Нет в продаже |
|
| 3 | 18829.027.032.30.2.2 | Кольцо | Нет в продаже |
|
| 4 | 40.1906.194 | Пружина | Нет в продаже |
|
| 5 | 40.1906.191 | Корпус | Нет в продаже |
|
| 6 | 18829.032.038.36.2.2 | Кольцо | Нет в продаже |
|
| 7 | 40.1906.192 | Пробка | Нет в продаже |
|
| 8 | 5915.10 | Гайка | Нет в продаже |
|
| 9 | 40.1906.193 | Винт | Нет в продаже |
|
| 10 | 18829.014.018.25.2.2 | Кольцо | Нет в продаже |
|
| 11 | 40.1906.195 | Клапан | Нет в продаже |
|
40.1906.190
1
2
3
4
5
6
7
8
9
10
11
Содержащиеся в справочниках-каталогах запасные части и детали носят исключительно информационный характер