Оригинальные каталоги
| № | Номер | Наименование | Цена | |
|---|---|---|---|---|
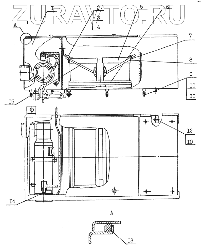
| 40.9800.000 | 40.9800.000 | Контейнер | Нет в продаже |
|
| 1 | 49.2704.000-01 | Контейнер | Нет в продаже |
|
| 2 | 3032.8 | Гайка | Нет в продаже |
|
| 3 | 11371.8 | Шайба | Нет в продаже |
|
| 4 | 6402.8 | Шайба | Нет в продаже |
|
| 5 | 10.2714.000 | Рамка | Нет в продаже |
|
| 6 | 49.2700.012 | Прокладка | Нет в продаже |
|
| 7 | 40.9800.002 | Уголок | Нет в продаже |
|
| 8 | 40.9800.003 | Прокладка | Нет в продаже |
|
| 9 | 5915.12 | Гайка | Нет в продаже |
|
| 10 | 11371.12 | Шайба | Нет в продаже |
|
| 11 | 22034.12.35 | Шпилька | Нет в продаже |
|
| 12 | 7798.12.25 | Болт | Нет в продаже |
|
| 13 | 10.2700.013 | Уплотнение | Нет в продаже |
|
| 14 | 10.2700.012 | Уплотнение | Нет в продаже |
|
| 15 | 40.9800.001 | Рычаг | Нет в продаже |
|
40.9800.000
1
2
3
4
5
6
7
8
9
10
10
11
12
13
14
15
Содержащиеся в справочниках-каталогах запасные части и детали носят исключительно информационный характер