Оригинальные каталоги
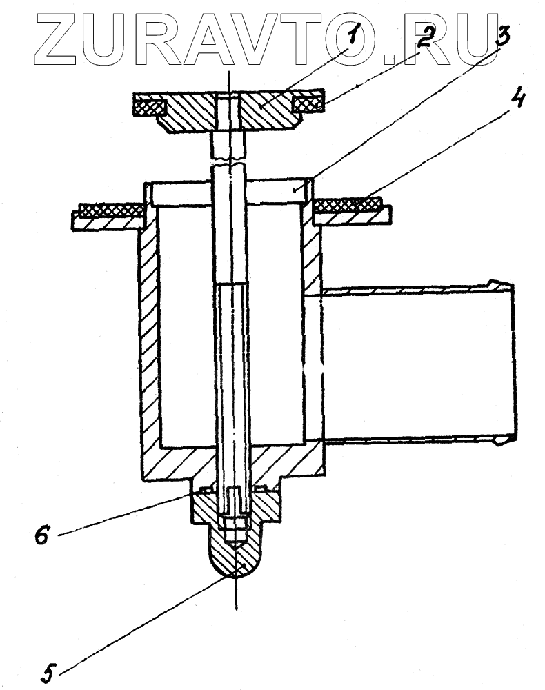
| № | Номер | Наименование | Цена | |
|---|---|---|---|---|
| 1 | 66.0151.420 | Клапан | Нет в продаже |
|
| 2 | 64.0421.223 | Прокладка | Нет в продаже |
|
| 3 | 94.0151.310 | Корпус | Нет в продаже |
|
| 4 | 03.6020.006 | Прокладка | Нет в продаже |
|
| 5 | 01.0700.029 | Гайка глухая | Нет в продаже |
|
| 6 | 016-020-25-2-2 ГОСТ 18829-78 | Кольцо | Нет в продаже |
|
1
2
3
4
5
6
Содержащиеся в справочниках-каталогах запасные части и детали носят исключительно информационный характер