Оригинальные каталоги
| № | Номер | Наименование | Цена | |
|---|---|---|---|---|
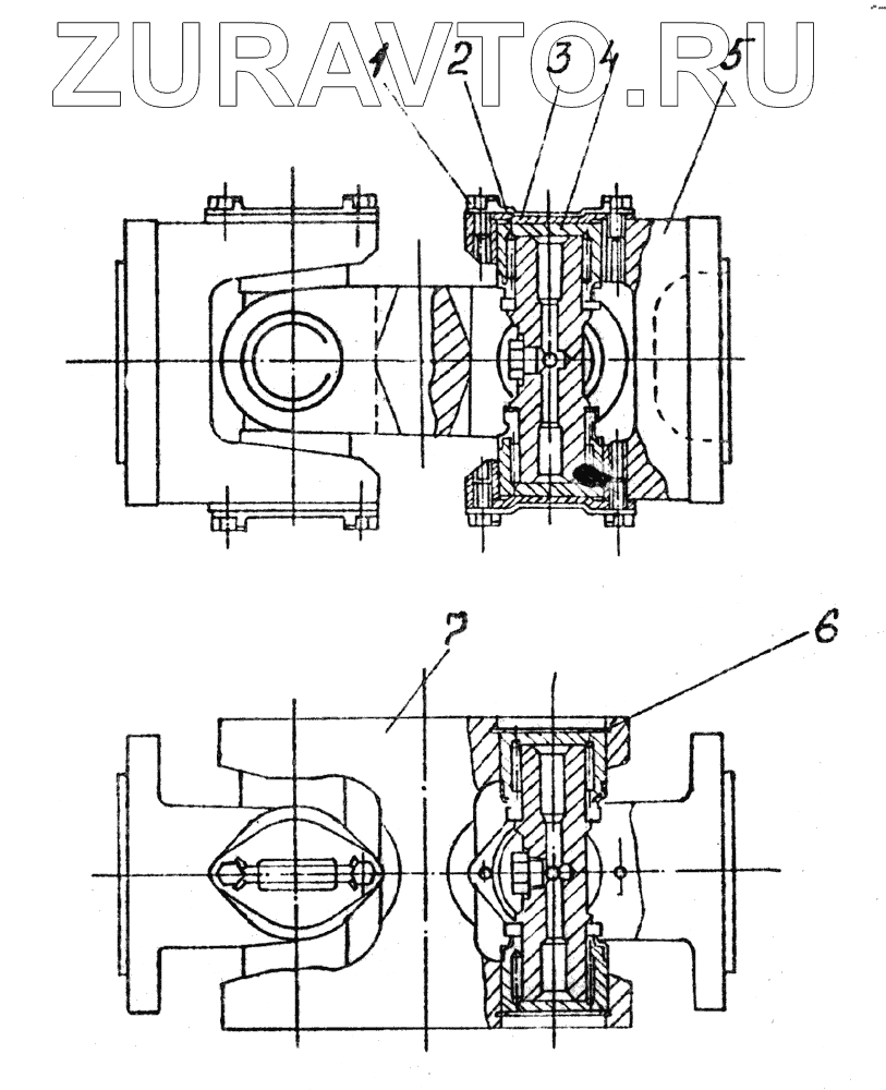
| 1 | M6-6gx12.109.40X.019 ГОСТ 7798-70 | Болт | Нет в продаже |
|
| 2 | 51-2201-039 | Пластина стопорная болтов кардана | Нет в продаже |
|
| 3 | 51-4930 | Крышка игольчатого подшипника кардана | Нет в продаже |
|
| 4 | 51-2201-025 | Крестовина в сборе | Нет в продаже |
|
| 5 | 51-4913-А | Фланец кардана | Нет в продаже |
|
| 6 | А35 ГОСТ 13943-86 | Кольцо | Нет в продаже |
|
| 7 | 22.0147.003 | Проушина | Нет в продаже |
|
| 7 | 22.0147.003-01 | Проушина | Нет в продаже |
|
1
2
3
4
5
6
7
7
Содержащиеся в справочниках-каталогах запасные части и детали носят исключительно информационный характер