Оригинальные каталоги
| № | Номер | Наименование | Цена | |
|---|---|---|---|---|
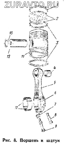
| 01-03с4-2 | 01-03с4-2 | Комплект шатунных вкладышей | Нет в продаже |
|
| 6Т3-03с1А | 6Т3-03с1А | Поршень с шатуном в сборе | Нет в продаже |
|
| 6Т3-03с2А | 6Т3-03с2А | Шатун в сборе | Нет в продаже |
|
| 1 | 236-1004030 | Кольцо поршневое компрессионное верхнее | Нет в продаже |
|
| 2 | 236-1004032 | Кольцо поршневое компрессионное | Нет в продаже |
|
| 3 | 236-1004035 | Кольцо поршневое маслосъемное | Нет в продаже |
|
| 4 | 01-0304 | Втулка шатуна | Нет в продаже |
|
| 5 | 6Т3-0301А | Шатун | Нет в продаже |
|
| 6 | 6Т3-0302А | Крышка шатуна | Нет в продаже |
|
| 7 | 01-0320-2 | Шайба стопорная | Нет в продаже |
|
| 8 | 236-1004062 | Болт крышки шатуна короткий | Нет в продаже |
|
| 8 | 6Т3-0304 | Болт крышки шатуна короткий | Нет в продаже |
|
| 9 | 6Т3-0303 | Болт крышки шатуна длинный | Нет в продаже |
|
| 10 | 01-0308-1 | Вкладыш нижней головки шатуна | Нет в продаже |
|
| 11 | 236-1 004015Г | Поршень | Нет в продаже |
|
| 12 | 236-1004020 | Палец поршневой | Нет в продаже |
|
| 13 | 236-1004022-Б | Кольцо стопорное поршневого пальца | Нет в продаже |
|
1
2
3
4
5
6
7
8
8
9
10
11
12
13
Содержащиеся в справочниках-каталогах запасные части и детали носят исключительно информационный характер