Оригинальные каталоги
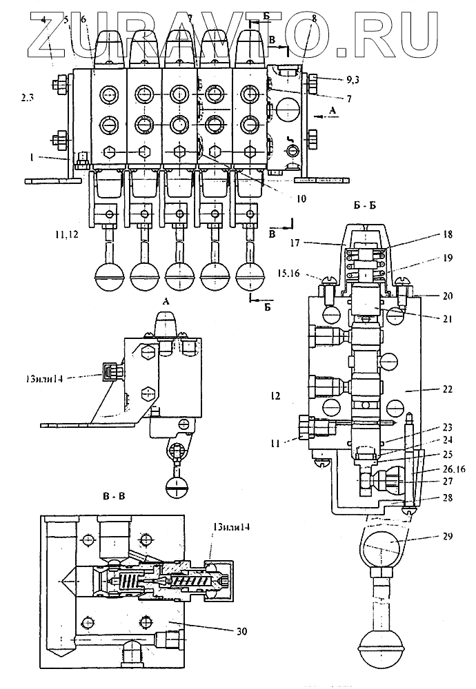
| № | Номер | Наименование | Цена | |
|---|---|---|---|---|
| 1 | У3.30.000-2 | Кронштейн | Нет в продаже |
|
| 2 | М10-7Н.5.019 ГОСТ 5915-70 | Гайка | Нет в продаже |
|
| 3 | 10.65Г.019 ГОСТ 6402-70 | Шайба | Нет в продаже |
|
| 4 | У3.30.00.002-2-01 | Шпилька | Нет в продаже |
|
| 5 | У3.30.00.001-2 | Крышка | Нет в продаже |
|
| 6 | У3.30.20.000-2 | Секция рабочая | Нет в продаже |
|
| 7 | 014-018-25-2-2 ГОСТ 9833-73 | Кольцо | Нет в продаже |
|
| 8 | У3.30.10.000-2 | Секция напорная | Нет в продаже |
|
| 9 | M10-8gx20.46.20 019 ГОСТ 7798-70 | Болт | Нет в продаже |
|
| 10 | 021-025-25-2-2 ГОСТ 9833-73 | Кольцо | Нет в продаже |
|
| 11 | У3.30.20.011-2 | Пробка | Нет в продаже |
|
| 12 | 007-010-19-2-2 ГОСТ 9833-73 | Кольцо | Нет в продаже |
|
| 13 | 510.20.03А | Гидроклапан предохранительный | Нет в продаже |
|
| 14 | КПР20-250-40-РС | Гидроклапан предохранительный | Нет в продаже |
|
| 15 | В.М6-8gх16.46.019 ГОСТ 17473-80 | Винт | Нет в продаже |
|
| 16 | 6.65Г.019 ГОСТ 6402-70 | Шайба | Нет в продаже |
|
| 17 | У3.30.20.004-2 | Крышка | Нет в продаже |
|
| 18 | У3.30.20.014-2 | Шайба | Нет в продаже |
|
| 19 | У3.30.20.008-2 | Пружина | Нет в продаже |
|
| 20 | У3.30.20.007-2 | Втулка | Нет в продаже |
|
| 21 | У3.30.20.013-2 | Золотник | Нет в продаже |
|
| 22 | У3.3020001-2 | Корпус рабочей секции | Нет в продаже |
|
| 23 | 020-025-30-2-2 ГОСТ 9833-73 | Кольцо | Нет в продаже |
|
| 24 | 008-012-25-2-2 ГОСТ 9833-73 | Кольцо | Нет в продаже |
|
| 25 | У3.30.20.005-2 | Ось | Нет в продаже |
|
| 26 | B.M6-8gx60.46.019 ГОСТ 17473-80 | Винт | Нет в продаже |
|
| 27 | У3.30.20.006-2 | Рычаг | Нет в продаже |
|
| 28 | У3.30.20.003-2 | Крышка | Нет в продаже |
|
| 29 | У3.30.20.020-2 | Рычаг | Нет в продаже |
|
| 30 | У3.30.10.001-2 | Корпус | Нет в продаже |
|
1
2
3
3
4
5
6
7
7
8
9
10
11
11
12
12
13
13
14
14
15
16
16
17
18
19
20
21
22
23
24
25
26
27
28
29
30
Содержащиеся в справочниках-каталогах запасные части и детали носят исключительно информационный характер