Оригинальные каталоги
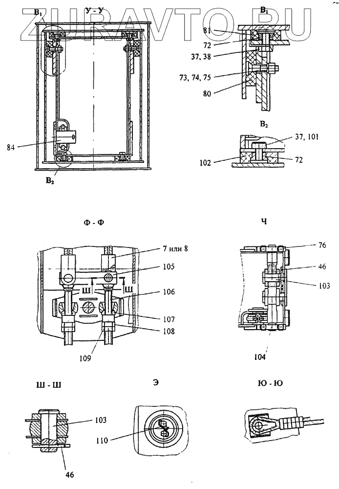
| № | Номер | Наименование | Цена | |
|---|---|---|---|---|
| 7 | KC-45717.61.130 | Канат | Нет в продаже |
|
| 8 | КС-45717.61.130-1 | Канат | Нет в продаже |
|
| 37 | M12-8gx20.46.20.019 ГОСТ 7798-70 | Болт | Нет в продаже |
|
| 38 | КС-35714.63.118-1 | Планка | Нет в продаже |
|
| 46 | 8x71.019 ГОСТ 397-79 | Шплинт | Нет в продаже |
|
| 72 | КС-35714.63.108-1 | Гайка | Нет в продаже |
|
| 73 | M12-8gx50.46.016 ГОСТ 17475-80 | Винт | Нет в продаже |
|
| 74 | 12.65Г.019 ГОСТ 6402-70 | Шайба | Нет в продаже |
|
| 75 | M12-7H.5.019 ГОСТ 5915-70 | Гайка | Нет в продаже |
|
| 76 | 12.01.019 ГОСТ 13463-77 | Шайба | Нет в продаже |
|
| 80 | КС-35714.63.113-1 | Накладка | Нет в продаже |
|
| 81 | КС-35714.63.111-1-01 | Накладка | Нет в продаже |
|
| 84 | КС-45717.61.103 | Ось | Нет в продаже |
|
| 101 | КС-35714.63.125 | Планка отгибная | Нет в продаже |
|
| 102 | КС-45717.62.702 | Башмак | Нет в продаже |
|
| 103 | КС-45717.61.124 | Ось | Нет в продаже |
|
| 104 | КС-45717.61.743 | Крышка | Нет в продаже |
|
| 105 | КС-45717.61.114 | Планка | Нет в продаже |
|
| 106 | КС-45717.61.148 | Тяга | Нет в продаже |
|
| 107 | КС-45717.61.146 | Шайба | Нет в продаже |
|
| 108 | КС-45717.61.145 | Гайка | Нет в продаже |
|
| 109 | КС-45717.61.122 | Гайка | Нет в продаже |
|
| 110 | 2,0-0-4 ГОСТ 3282-74 | Проволока | Нет в продаже |
|
7
8
37
37
38
46
46
72
72
73
74
75
76
80
81
84
101
102
103
103
104
105
106
107
108
109
110
Содержащиеся в справочниках-каталогах запасные части и детали носят исключительно информационный характер